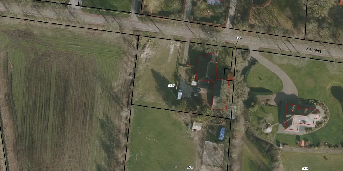
Perceel: GTG00-G-1636

Adres bij perceel

Perceeloppervlakte & perceelomtrek

2.225 m2 - 206 m

Eigenaar van het perceel

Eigenaar opvragen

Kadastrale aanduiding

GTG00-G-1636 (Grootegast)

Postcode in perceel

    9865 TD

Type eigenaar

LwRZFr1cUtyCTNEkhQ3XbiCpibPGDUpgrade naar KadastraleKaart Pro

Woning verkocht in 2023

Verkoopprijs opvragen

Google Street View

Bekijk op Street View

Download

Download DWG/DXF/Excel

Gerelateerde percelen

OsLilb9k M8mCre5RBNBZgUpgrade naar KadastraleKaart Pro

Bebouwd/onbebouwd/water/groen

s3ZxfSDrW7AsbIHT8 PITUpgrade naar KadastraleKaart Pro
Administratieve eenheden
HNqPcxTM5y2xjZ5Upgrade naar KadastraleKaart Pro

Appartementsrechten

lo2D2LCibe4QtXE2iA4wu2Upgrade naar KadastraleKaart Pro

Vergunningverlenende instanties

ddh7PuwUCGSaUpgrade naar KadastraleKaart Pro

Bedekking (BGT)

i yMjbBmgmK SNkafL5jYlUpgrade naar KadastraleKaart Pro

Publiekrechtelijke beperkingen

w MNK MH xB0Upgrade naar KadastraleKaart Pro

Grensnauwkeurigheid

l68PDg TZafuQt3hxMUpgrade naar KadastraleKaart Pro

Coördinaten hoekpunten perceel

6tAI51nkWivDd6SoUpgrade naar KadastraleKaart Pro

Hoogteligging

pGxC4IrpnDQeUpgrade naar KadastraleKaart Pro

Laatst gewijzigd

14/11/1997

Kadastrale kaart met maatvoering 59,95
Kadastrale kaart pakket 28,95

Percelen

Gebruik de zoekbalk of klik op een perceel om informatie over het perceel te bekijken.
Locatie
Meten
Lagen
Download