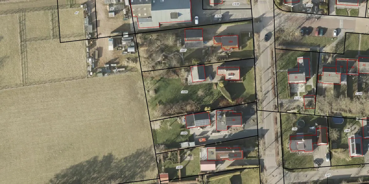
Perceel: GTG00-I-1688

Adres bij perceel

Perceeloppervlakte & perceelomtrek

1.575 m2 - 171 m

Eigenaar van het perceel

Eigenaar opvragen

Kadastrale aanduiding

GTG00-I-1688 (Grootegast)

Postcode in perceel

    9866 AK

Type eigenaar

I76UbxCFH2 y HinUpgrade naar KadastraleKaart Pro

Google Street View

Bekijk op Street View

Download

Download DWG/DXF/Excel

Gerelateerde percelen

VnRNU0mJf eUpgrade naar KadastraleKaart Pro

Bebouwd/onbebouwd/water/groen

HL8mQKvNhUpgrade naar KadastraleKaart Pro
Administratieve eenheden
7JJwaZrD3jv0wShOa0OcGUUpgrade naar KadastraleKaart Pro

Appartementsrechten

sOiU0nAVZ B3iIUpgrade naar KadastraleKaart Pro

Vergunningverlenende instanties

xo2SrCjK2iujFUpgrade naar KadastraleKaart Pro

Bedekking (BGT)

JyZ83EkP S o jPsrUpgrade naar KadastraleKaart Pro

Publiekrechtelijke beperkingen

m KA lDBpkUpgrade naar KadastraleKaart Pro

Grensnauwkeurigheid

vZYaufU4hbS wueF5mUpgrade naar KadastraleKaart Pro

Coördinaten hoekpunten perceel

k r7l5B1j2Upgrade naar KadastraleKaart Pro

Hoogteligging

yxH3GiiD91B7QifMOPUpgrade naar KadastraleKaart Pro

Laatst gewijzigd

28/10/2009

Kadastrale kaart met maatvoering 59,95
Kadastrale kaart pakket 28,95

Percelen

Gebruik de zoekbalk of klik op een perceel om informatie over het perceel te bekijken.
Locatie
Meten
Lagen
Download