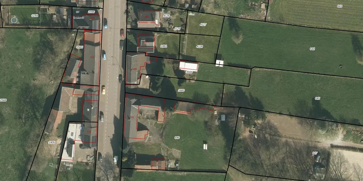
Perceel: GVD01-B-1660
KadastraleKaart.com kan meer dan je denktOntdek meer ›
Filter op bestemming 50+ datasets Eigendomsdata in één klik Percelen CRM
Geen adressen bij dit perceel
600 m2 - 131 m
Eigenaar opvragen
GVD01-B-1660 (Gronsveld)
- Geen postcode aanwezig
0 A9b5vmvPu6Gb0T lytOE eEwK xUpgrade naar KadastraleKaart Pro
Bekijk op Street View
Download DWG/DXF/Excel
0r915cDHEUvM74A 7aGjPUpgrade naar KadastraleKaart Pro
g r83xw5tX3hKNopB OVKUpgrade naar KadastraleKaart Pro
8SdsVypc rIHgGUpgrade naar KadastraleKaart Pro
gQvz6kgDHaSfOhHygrFuSlzUpgrade naar KadastraleKaart Pro
o67dJJ8t3oZPzSqUUpgrade naar KadastraleKaart Pro
G1IUqRCKphmWZ Ai95JUpgrade naar KadastraleKaart Pro
Xnv2 F2HasWAOaZ Upgrade naar KadastraleKaart Pro
JJEb3pJMWN8BOLCs8cJoaUpgrade naar KadastraleKaart Pro
st9uLCDvVxg K2AiZ3Upgrade naar KadastraleKaart Pro
pncdIWJiz Wq m2vlUpgrade naar KadastraleKaart Pro
23/01/2009

Percelen
Gebruik de zoekbalk of klik op een perceel om informatie over het perceel te bekijken.