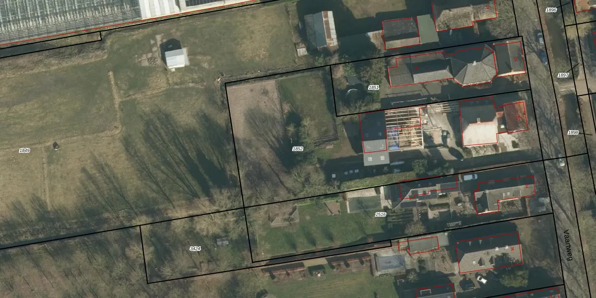
Perceel: GVM00-A-1852
KadastraleKaart.com kan meer dan je denktOntdek meer ›
Filter op bestemming 50+ datasets Eigendomsdata in één klik Percelen CRM
3.136 m2 - 287 m
Eigenaar opvragen
GVM00-A-1852 ('s-Gravenmoer)
- 5109 RC
SF6JOhuN4w 15T0 ElJqUpgrade naar KadastraleKaart Pro
Verkoopprijs opvragen
Bekijk op Street View
Download DWG/DXF/Excel
LVzR2 embgUpgrade naar KadastraleKaart Pro
MbZDJiUrWc Upgrade naar KadastraleKaart Pro
8u5XTr91Upgrade naar KadastraleKaart Pro
6 4WCyOvExLB zoVy bRaUpgrade naar KadastraleKaart Pro
DkRE 4IluRfF8RftUpgrade naar KadastraleKaart Pro
KOLXP veTxge30I hCIUpgrade naar KadastraleKaart Pro
qJ mlzGBjgILca 7vkCYUpgrade naar KadastraleKaart Pro
m0RMKk1otXA9Upgrade naar KadastraleKaart Pro
r3 tXT5WQWn OfNj0JBeUpgrade naar KadastraleKaart Pro
HfhN0fe96VBqOPQWUpgrade naar KadastraleKaart Pro
21/04/2008

Percelen
Gebruik de zoekbalk of klik op een perceel om informatie over het perceel te bekijken.