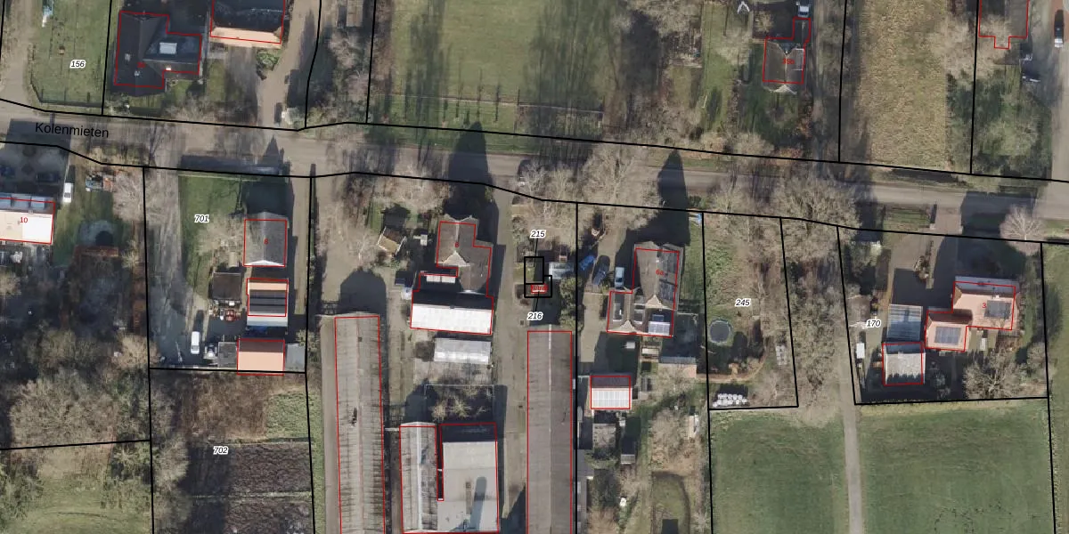
Perceel: HAM00-O-215
KadastraleKaart.com kan meer dan je denktOntdek meer ›
Filter op bestemming 50+ datasets Eigendomsdata in één klik Percelen CRM
Geen adressen bij dit perceel
15 m2 - 17 m
Eigenaar opvragen
HAM00-O-215 (Den Ham)
- Geen postcode aanwezig
4EoC9SAw6B P0i flFew63glqUpgrade naar KadastraleKaart Pro
Bekijk op Street View
Download DWG/DXF/Excel
mShh0rsyM QkYUpgrade naar KadastraleKaart Pro
fVUMpWyGbTn7E3 dOFXUpgrade naar KadastraleKaart Pro
Ihqym6auQvXhM e Upgrade naar KadastraleKaart Pro
J7opqXZBaoaDTPWdUpgrade naar KadastraleKaart Pro
xEdbK1U2fEvihCQu7Upgrade naar KadastraleKaart Pro
Ccf6Wan7htTZQxY7OYUpgrade naar KadastraleKaart Pro
l gRYupygJUpgrade naar KadastraleKaart Pro
eF GDX4XJPoUpgrade naar KadastraleKaart Pro
CJJT Vq kQHAUpgrade naar KadastraleKaart Pro
ArpaIK vW FIeOhinGedCjNUpgrade naar KadastraleKaart Pro
07/12/2001

Percelen
Gebruik de zoekbalk of klik op een perceel om informatie over het perceel te bekijken.