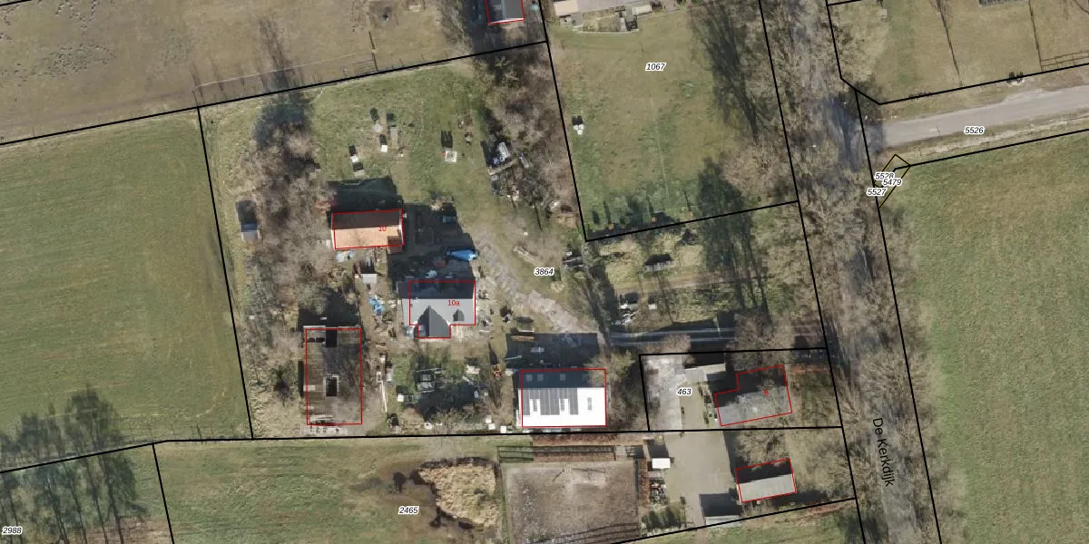
Perceel: HDB01-O-3864
KadastraleKaart.com kan meer dan je denktOntdek meer ›
Filter op bestemming 50+ datasets Eigendomsdata in één klik Percelen CRM
5.580 m2 - 353 m
Eigenaar opvragen
HDB01-O-3864 (Ambt-Hardenberg)
- 7798 CG
mt720iQS7v0mlA1lvzz6MloMe3iquUpgrade naar KadastraleKaart Pro
Verkoopprijs opvragen
Bekijk op Street View
Download DWG/DXF/Excel
iOnotzblRUpgrade naar KadastraleKaart Pro
G Pj41Vgh4yH7uOvWwhXQUpgrade naar KadastraleKaart Pro
qw4hyeYfu3ebrj jWBDUpgrade naar KadastraleKaart Pro
f7tEpI0ExmjVJsPa Upgrade naar KadastraleKaart Pro
yA kijO nobLwUcZvhv24FUpgrade naar KadastraleKaart Pro
7VuAXnSMaBm CpAW7NOHr Upgrade naar KadastraleKaart Pro
NKq9 t4kMtODYAUm14pu suUpgrade naar KadastraleKaart Pro
eRuM7 99kcU QA46aprQtUpgrade naar KadastraleKaart Pro
5WnyWIhuY HRmqUpgrade naar KadastraleKaart Pro
qyNaZ 9fe 7Upgrade naar KadastraleKaart Pro
19/12/2016

Percelen
Gebruik de zoekbalk of klik op een perceel om informatie over het perceel te bekijken.