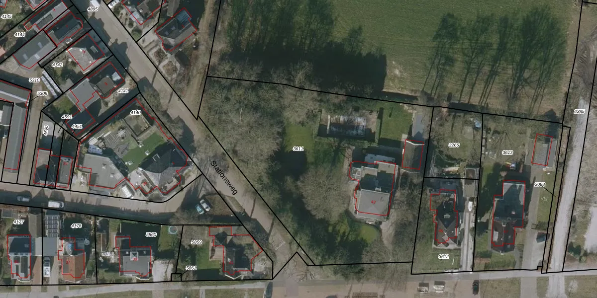
Perceel: HDG00-A-3611
KadastraleKaart.com kan meer dan je denktOntdek meer ›
Filter op bestemming 50+ datasets Eigendomsdata in één klik Percelen CRM
3.680 m2 - 239 m
Eigenaar opvragen
HDG00-A-3611 (Hardegarijp)
- 9254 DB
v1 KJOt3pof6qewnUpgrade naar KadastraleKaart Pro
Bekijk op Street View
Download DWG/DXF/Excel
hh 0oxjV 5 ZA8lUpgrade naar KadastraleKaart Pro
zzX TjbtUpgrade naar KadastraleKaart Pro
9 CHM0Vq pFB57MKfjTf3Upgrade naar KadastraleKaart Pro
CJ34smUlliyEs2zUpgrade naar KadastraleKaart Pro
j36jrxwwaqs MFFd1 CUpgrade naar KadastraleKaart Pro
74 PFT35X8U8Upgrade naar KadastraleKaart Pro
I62GTht5 4AQR0JB7rIQQoUpgrade naar KadastraleKaart Pro
sOyJ 5u ly xOW6 Ue5h2gkUpgrade naar KadastraleKaart Pro
yfK1d5MmyMIehtC2XUpgrade naar KadastraleKaart Pro
RVgZQFvhUpgrade naar KadastraleKaart Pro
03/03/2003

Percelen
Gebruik de zoekbalk of klik op een perceel om informatie over het perceel te bekijken.