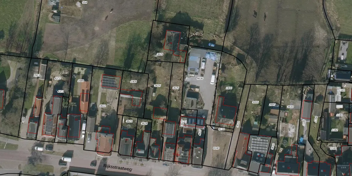
Perceel: HDG00-A-3626
425 m2 - 129 m
Eigenaar opvragen
HDG00-A-3626 (Hardegarijp)
- 9254 DB
0Cp5LwuyJKFisnnLy9kU1 NUpgrade naar KadastraleKaart Pro
Verkoopprijs opvragen
Bekijk op Street View
Download DWG/DXF/Excel
1XLIbq6rjUpgrade naar KadastraleKaart Pro
nzkFD wZIThj 9JYbfCiUpgrade naar KadastraleKaart Pro
U0ENpUomRKrb qp9JQx09gvUpgrade naar KadastraleKaart Pro
EdF4SaT7 YrZ7ogWUpgrade naar KadastraleKaart Pro
VxMKYrWZW8eTbBwVygtiukUpgrade naar KadastraleKaart Pro
HhwYfI5MVc VmUpgrade naar KadastraleKaart Pro
ZbkiF9yF wZSLUVcUpgrade naar KadastraleKaart Pro
GNw8I994Upgrade naar KadastraleKaart Pro
HxL1AZ OH9 1XHiUpgrade naar KadastraleKaart Pro
XEeQw84X5 Upgrade naar KadastraleKaart Pro
03/03/2003

Percelen
Gebruik de zoekbalk of klik op een perceel om informatie over het perceel te bekijken.