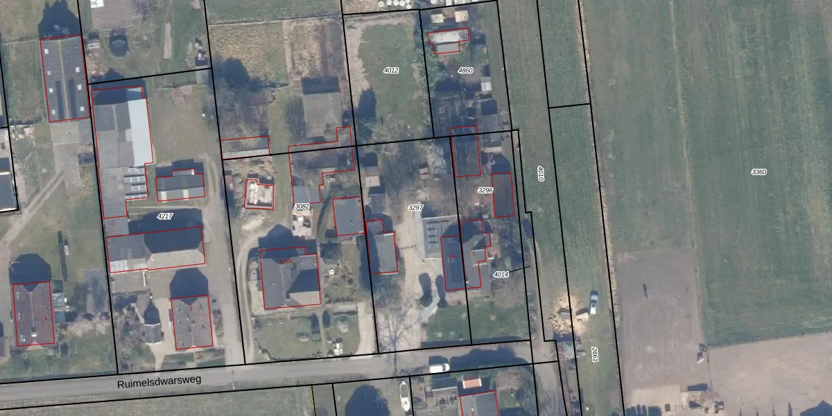
Perceel: HDW00-A-3297
1.175 m2 - 146 m
Eigenaar opvragen
HDW00-A-3297 (Harderwijk)
- 3849 BK
w4OB7iS j5KQw9bxOGOa 5nU2GUpgrade naar KadastraleKaart Pro
Verkoopprijs opvragen
Bekijk op Street View
Download DWG/DXF/Excel
OooPjcJ Q E2UDmqlxOZHUpgrade naar KadastraleKaart Pro
VZoJrawtDimyUpgrade naar KadastraleKaart Pro
eD8GMyK5Q8gODHiWGhw7BUpgrade naar KadastraleKaart Pro
k9TmC1dFlDLc2 VOUpgrade naar KadastraleKaart Pro
lU c eXEcPTZw Upgrade naar KadastraleKaart Pro
3x6Cng8MzjBwcUPxrt2Upgrade naar KadastraleKaart Pro
RPhD FjfK1ed6Lv 5sOUpgrade naar KadastraleKaart Pro
JFXS3mKByTw6VKJTiUpgrade naar KadastraleKaart Pro
0 pVFPZtb5IMXK 5 N66l0GUpgrade naar KadastraleKaart Pro
VSiC N AD1ZXYYI0Upgrade naar KadastraleKaart Pro
22/07/2003

Percelen
Gebruik de zoekbalk of klik op een perceel om informatie over het perceel te bekijken.