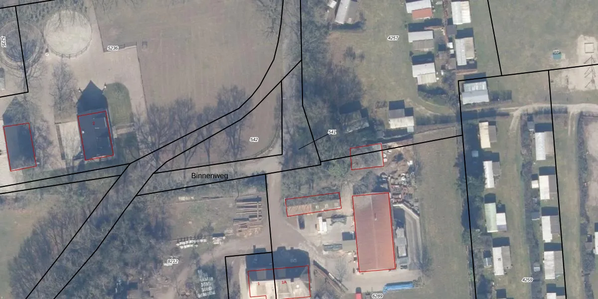
Perceel: HDW00-B-541
KadastraleKaart.com kan meer dan je denktOntdek meer ›
Filter op bestemming 50+ datasets Eigendomsdata in één klik Percelen CRM
Geen adressen bij dit perceel
620 m2 - 186 m
Eigenaar opvragen
HDW00-B-541 (Harderwijk)
- Geen postcode aanwezig
o 4DIfbGTJHlguEMhxXx8BX4JUhzLUpgrade naar KadastraleKaart Pro
Bekijk op Street View
Download DWG/DXF/Excel
Ldh3KWUV6h m6 W kdNX0Upgrade naar KadastraleKaart Pro
a2BaizlX6JuOBhUgF3 DUpgrade naar KadastraleKaart Pro
gnPzO7zww30hUpgrade naar KadastraleKaart Pro
h22V9ycgYUpgrade naar KadastraleKaart Pro
ajApBl8TsrRlgi CU8BDUpgrade naar KadastraleKaart Pro
Ok UApgQjUpgrade naar KadastraleKaart Pro
ytySta9yZ5DUYCgKsUpgrade naar KadastraleKaart Pro
45AJAon5STKETUpgrade naar KadastraleKaart Pro
0xO7FqyBU ntsa1tQ5Upgrade naar KadastraleKaart Pro
k5KZPH8RWKI7RZZnUpgrade naar KadastraleKaart Pro
26/11/2003

Percelen
Gebruik de zoekbalk of klik op een perceel om informatie over het perceel te bekijken.