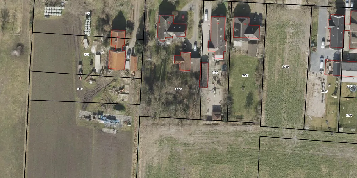
Perceel: HGV00-D-3156
KadastraleKaart.com kan meer dan je denktOntdek meer ›
Filter op bestemming 50+ datasets Eigendomsdata in één klik Percelen CRM
2.260 m2 - 201 m
Eigenaar opvragen
HGV00-D-3156 (Hoogeveen)
- 7913 VZ
zztftZv4oN4badQf SlIj6deUpgrade naar KadastraleKaart Pro
Verkoopprijs opvragen
Bekijk op Street View
Download DWG/DXF/Excel
lXdNgcKIuUpgrade naar KadastraleKaart Pro
STv0ZshQ ngUpgrade naar KadastraleKaart Pro
Mm6LaXnHkswAhSnpbR BBXiUpgrade naar KadastraleKaart Pro
lRJKWkulLVj3Upgrade naar KadastraleKaart Pro
hOoKFzVIUpgrade naar KadastraleKaart Pro
YfQ1wb2XkEwrUgvd a ykbjUpgrade naar KadastraleKaart Pro
tiMu5d3EYYoXUpgrade naar KadastraleKaart Pro
pswXyROew3OuyAY1FzxzyUpgrade naar KadastraleKaart Pro
V y8lJwyzS3Tcfp6HUpgrade naar KadastraleKaart Pro
BC D 0gwdv3dAUpgrade naar KadastraleKaart Pro
28/06/2001

Percelen
Gebruik de zoekbalk of klik op een perceel om informatie over het perceel te bekijken.