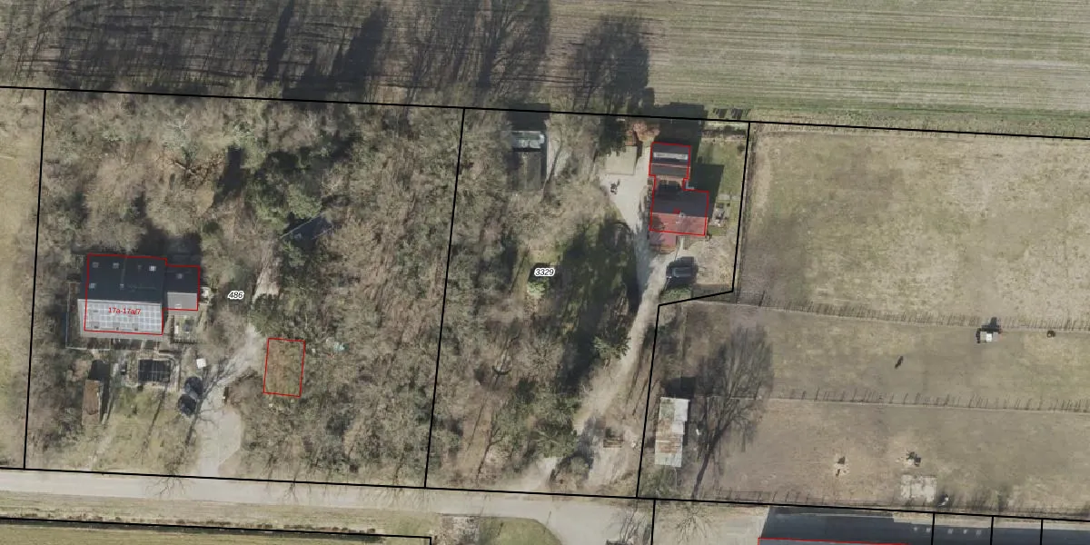
Perceel: HGV00-K-3329
KadastraleKaart.com kan meer dan je denktOntdek meer ›
Filter op bestemming 50+ datasets Eigendomsdata in één klik Percelen CRM
3.210 m2 - 242 m
Eigenaar opvragen
HGV00-K-3329 (Hoogeveen)
- 7911 TD
LFW0709w606feiVmhQyG1S 8 Upgrade naar KadastraleKaart Pro
Verkoopprijs opvragen
Bekijk op Street View
Download DWG/DXF/Excel
9TcjgeUhzmnEUpgrade naar KadastraleKaart Pro
5RHPjheGyN2MSUpgrade naar KadastraleKaart Pro
2 MdPf38Upgrade naar KadastraleKaart Pro
0SH1qHX bbC6PcCvYUpgrade naar KadastraleKaart Pro
41fwWJH3NPUNIrMsOUJZvdUpgrade naar KadastraleKaart Pro
X5rt4mtF7PlYfM I4DCBUpgrade naar KadastraleKaart Pro
FyGREHvUpgrade naar KadastraleKaart Pro
MAUn7PBJDUOS6axIUpgrade naar KadastraleKaart Pro
kXD13ONcUpgrade naar KadastraleKaart Pro
M5DU 5LjMLAGc9 04ixZUpgrade naar KadastraleKaart Pro
14/07/2003

Percelen
Gebruik de zoekbalk of klik op een perceel om informatie over het perceel te bekijken.