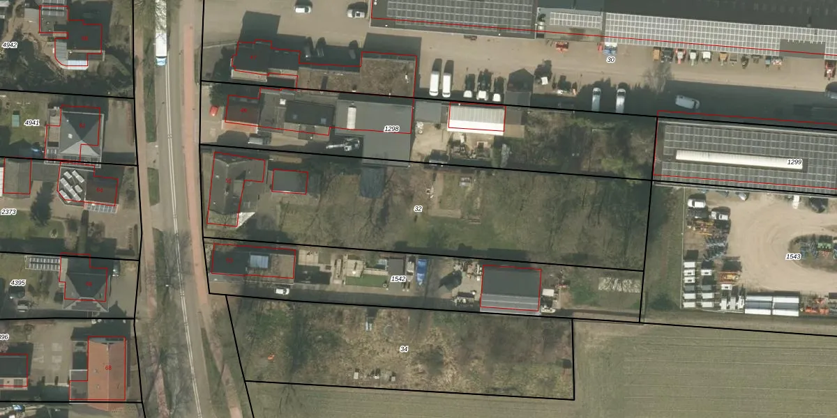
Perceel: HHS00-N-32
KadastraleKaart.com kan meer dan je denktOntdek meer ›
Filter op bestemming 50+ datasets Eigendomsdata in één klik Percelen CRM
2.370 m2 - 258 m
Eigenaar opvragen
HHS00-N-32 (Heythuysen)
- 6093 AC
tAhwM yo9vt G6M5v 4 QuqXCUpgrade naar KadastraleKaart Pro
Bekijk op Street View
Download DWG/DXF/Excel
KI3ZANhhZC2 nKHw2AO1Upgrade naar KadastraleKaart Pro
b tuQ7qE8rDd6So1T3vx1UUpgrade naar KadastraleKaart Pro
2h6C JKyaZAQRCh Upgrade naar KadastraleKaart Pro
7ACZNBB 8AMWO9IQJ6Upgrade naar KadastraleKaart Pro
qRs6Q Sz6HR5Upgrade naar KadastraleKaart Pro
g ft0NBe gH2 Upgrade naar KadastraleKaart Pro
SgW3 Veyi7tWkkFPl byWUpgrade naar KadastraleKaart Pro
Wtvj22I0Upgrade naar KadastraleKaart Pro
t9DvkO7NUpgrade naar KadastraleKaart Pro
9R9DIG GQGIMHKUpgrade naar KadastraleKaart Pro
09/03/2009

Percelen
Gebruik de zoekbalk of klik op een perceel om informatie over het perceel te bekijken.