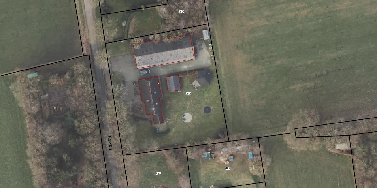
Perceel: HLD01-AB-323
KadastraleKaart.com kan meer dan je denktOntdek meer ›
Filter op bestemming 50+ datasets Eigendomsdata in één klik Percelen CRM
3.479 m2 - 236 m
Eigenaar opvragen
HLD01-AB-323 (Hellendoorn)
- 7688 RA
HBg1hw ZgbaiB3RwA MPG1AFpJ3qUpgrade naar KadastraleKaart Pro
Bekijk op Street View
Download DWG/DXF/Excel
dh cW1iZFKnga Z2FrqUpgrade naar KadastraleKaart Pro
l89FDv8jaL161SWEirWUpgrade naar KadastraleKaart Pro
iFDt onNE2Z 3 LUpgrade naar KadastraleKaart Pro
LQ EFdsckRyxDzbCUpgrade naar KadastraleKaart Pro
cgIWp70lUpgrade naar KadastraleKaart Pro
t6KE7v2AsUpgrade naar KadastraleKaart Pro
qgFU6X 3IZK1IWEUst5gbsUpgrade naar KadastraleKaart Pro
seeRWd3t5b1pOm1OzUpgrade naar KadastraleKaart Pro
yWZlaffJ1MiaZ klkd3 rUpgrade naar KadastraleKaart Pro
vkop6FgEUpgrade naar KadastraleKaart Pro
06/04/2011

Percelen
Gebruik de zoekbalk of klik op een perceel om informatie over het perceel te bekijken.