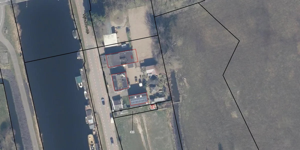
Perceel: HLM03-AB-300
KadastraleKaart.com kan meer dan je denktOntdek meer ›
Filter op bestemming 50+ datasets Eigendomsdata in één klik Percelen CRM
1.852 m2 - 170 m
Eigenaar opvragen
HLM03-AB-300 (Haarlemmermeer)
- 2141 BG
vjtq 1i QiyhVZEYXclh 4eKHPBUpgrade naar KadastraleKaart Pro
Bekijk op Street View
Download DWG/DXF/Excel
f2CjjEqLde4MViGUpgrade naar KadastraleKaart Pro
f v6FH2A33irUpgrade naar KadastraleKaart Pro
tshsqOdOBUpgrade naar KadastraleKaart Pro
7Ec1Gu hUpgrade naar KadastraleKaart Pro
NVPanC48KKgBsg5dkPUpgrade naar KadastraleKaart Pro
l46mg0Ydnbf03llnUpgrade naar KadastraleKaart Pro
A0CMoTcmaXCGwQZPYjCaUpgrade naar KadastraleKaart Pro
w9NTpGcx354sKUpgrade naar KadastraleKaart Pro
Rqr srV rHsWQoajXjUpgrade naar KadastraleKaart Pro
YYq2O6QEVWWIUIUpgrade naar KadastraleKaart Pro
12/01/2006

Percelen
Gebruik de zoekbalk of klik op een perceel om informatie over het perceel te bekijken.