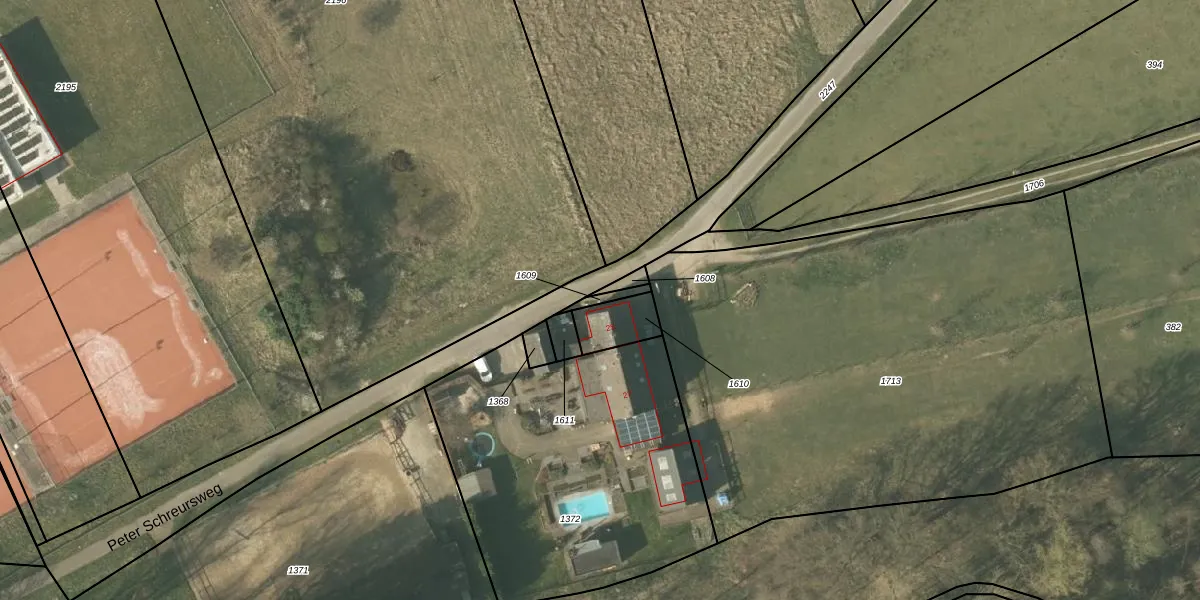
Perceel: HLN02-B-1609
KadastraleKaart.com kan meer dan je denktOntdek meer ›
Filter op bestemming 50+ datasets Eigendomsdata in één klik Percelen CRM
Geen adressen bij dit perceel
15 m2 - 35 m
Eigenaar opvragen
HLN02-B-1609 (Haelen)
- Geen postcode aanwezig
4XKT5Mtd0ht ETfYMklKwzUpgrade naar KadastraleKaart Pro
Bekijk op Street View
Download DWG/DXF/Excel
OEUqXUc I8LZsj RaUpgrade naar KadastraleKaart Pro
y3BU1ybm gPBfKh0i ee ZUpgrade naar KadastraleKaart Pro
3D05dxsF h6X2qFUpgrade naar KadastraleKaart Pro
kdy9HDT6nb00rLJ6SNsjdJUUpgrade naar KadastraleKaart Pro
iTWzhwD8RIzHXYUpgrade naar KadastraleKaart Pro
iobT3jQtiUQLUUpgrade naar KadastraleKaart Pro
YxoEj2G BOdUpgrade naar KadastraleKaart Pro
4XkOhCKer0QvUfXxMUpgrade naar KadastraleKaart Pro
7NvK5in 1N6ob bTXJxqyzUpgrade naar KadastraleKaart Pro
vVYPFT4 3Upgrade naar KadastraleKaart Pro
15/01/2008

Percelen
Gebruik de zoekbalk of klik op een perceel om informatie over het perceel te bekijken.