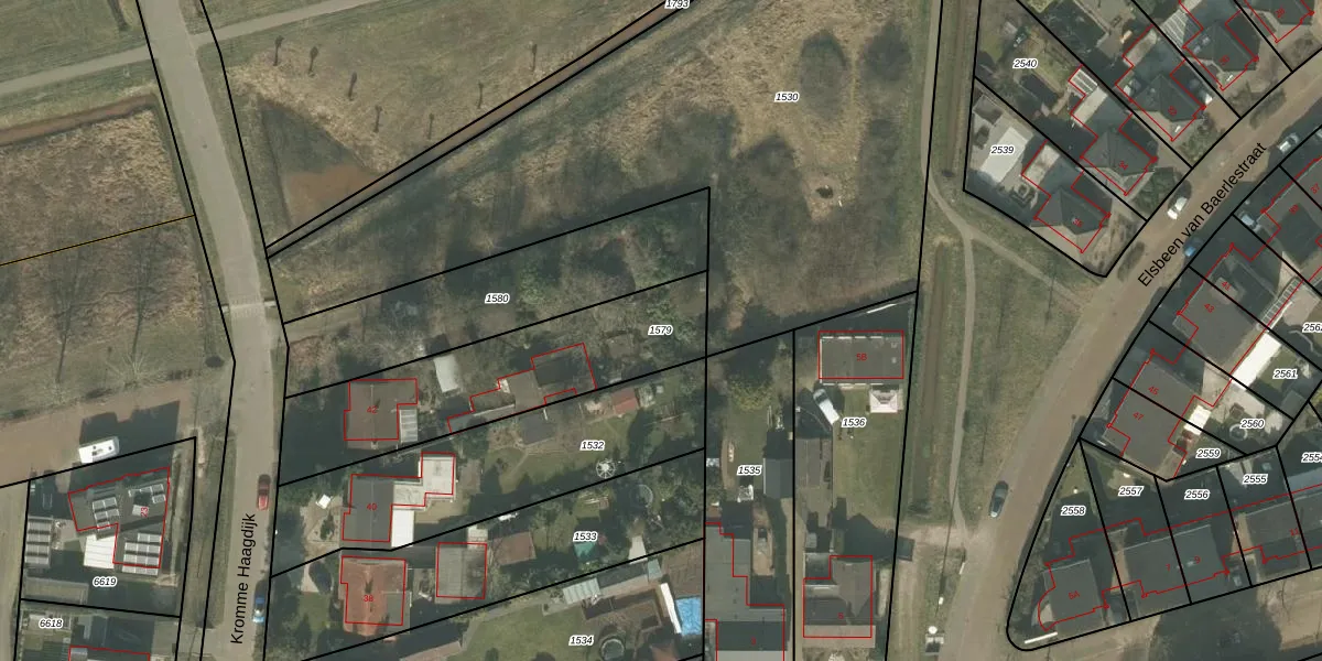
Perceel: HMD00-U-1579
827 m2 - 161 m
Eigenaar opvragen
HMD00-U-1579 (Helmond)
- 5706 LN
lt h02vvD JIue2A5zHq 40AMUpgrade naar KadastraleKaart Pro
Bekijk op Street View
Download DWG/DXF/Excel
H041Hn5m09aLkvUpgrade naar KadastraleKaart Pro
WKHJdYvqb6Upgrade naar KadastraleKaart Pro
QIFqi8dvFcHAYPh yraUpgrade naar KadastraleKaart Pro
eOVV9lNBsjRn NcBDBroUpgrade naar KadastraleKaart Pro
1 N0vbcirIf5GGxeq VcUbSUpgrade naar KadastraleKaart Pro
Elnb r tUpgrade naar KadastraleKaart Pro
9QAb 3Cj0DUpgrade naar KadastraleKaart Pro
ocW1jF9 mt Wc BQKUpgrade naar KadastraleKaart Pro
K6vWIq LaAK8iPh7Upgrade naar KadastraleKaart Pro
IzYjFnQ0KYZFUpgrade naar KadastraleKaart Pro
26/02/2009

Percelen
Gebruik de zoekbalk of klik op een perceel om informatie over het perceel te bekijken.