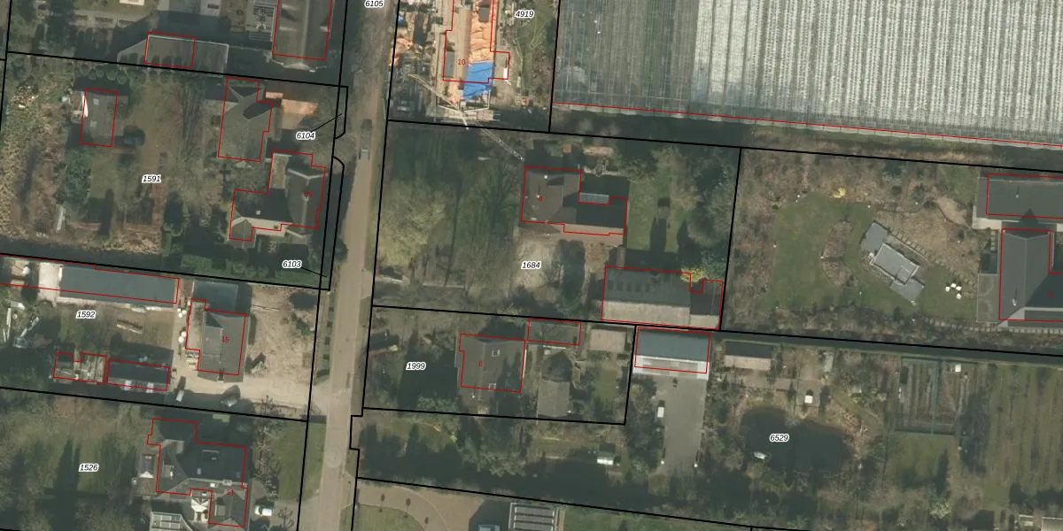
Perceel: HMD00-U-1684
2.310 m2 - 202 m
Eigenaar opvragen
HMD00-U-1684 (Helmond)
- 5706 LK
M4 vWlx6KM6oXu h5 Kz SUpgrade naar KadastraleKaart Pro
Bekijk op Street View
Download DWG/DXF/Excel
ztOSmptnR n4zfmtAEgtZXxUpgrade naar KadastraleKaart Pro
iymb4YIYeH81HbBUpgrade naar KadastraleKaart Pro
Xyblln HNL4ahVUpgrade naar KadastraleKaart Pro
DxcJOyFnPowRXQurd1lXzUpgrade naar KadastraleKaart Pro
4VRazQIaUpgrade naar KadastraleKaart Pro
fl02gVsVl nNUpgrade naar KadastraleKaart Pro
7aXuUUtUoyr8GUpgrade naar KadastraleKaart Pro
xfGPMeYj4c Xn86WhVd1BUpgrade naar KadastraleKaart Pro
jKxi9lgduUpgrade naar KadastraleKaart Pro
VjaBiddY 3LbJixDUpgrade naar KadastraleKaart Pro
22/09/2011

Percelen
Gebruik de zoekbalk of klik op een perceel om informatie over het perceel te bekijken.