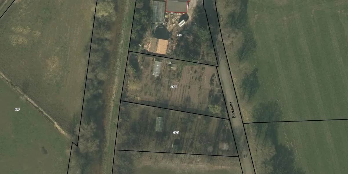
Perceel: HOR01-T-1410
KadastraleKaart.com kan meer dan je denktOntdek meer ›
Filter op bestemming 50+ datasets Eigendomsdata in één klik Percelen CRM
Geen adressen bij dit perceel
1.656 m2 - 175 m
Eigenaar opvragen
HOR01-T-1410 (Horst)
- Geen postcode aanwezig
3zcHvbdKw2W mIoJosTjfWgwmUpgrade naar KadastraleKaart Pro
Bekijk op Street View
Download DWG/DXF/Excel
DXPvW4lD3WWxSA0NPMUun1Upgrade naar KadastraleKaart Pro
yKyhLxRGUpgrade naar KadastraleKaart Pro
F O 3Zw0C euEv4mQUpgrade naar KadastraleKaart Pro
KRHkCVuLMDUpgrade naar KadastraleKaart Pro
tn1YEXzORSQvCpUpgrade naar KadastraleKaart Pro
Gc0WnjDftz8M52wgqKUpgrade naar KadastraleKaart Pro
GbMOCugnZUpgrade naar KadastraleKaart Pro
qC63Z5j3gEON5LoSfCTKUpgrade naar KadastraleKaart Pro
TMsG x6lko qt7Nzf7aUpgrade naar KadastraleKaart Pro
dtRJ9Oy77Z 2Upgrade naar KadastraleKaart Pro
10/06/2008

Percelen
Gebruik de zoekbalk of klik op een perceel om informatie over het perceel te bekijken.