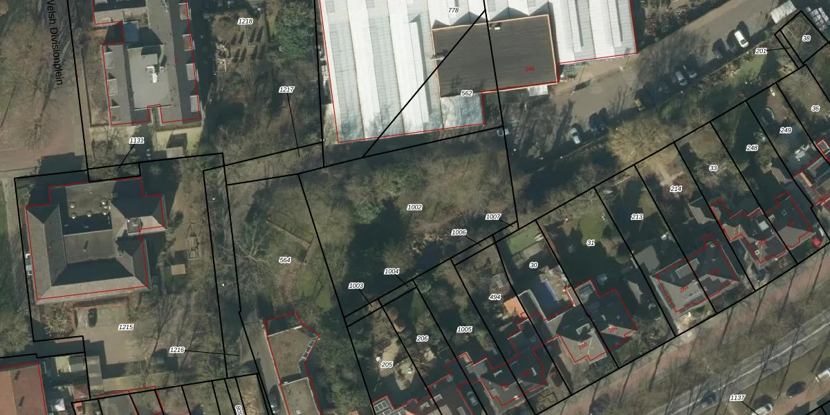
Perceel: HTG00-M-1002

Adres bij perceel

Geen adressen bij dit perceel

Perceeloppervlakte & perceelomtrek

1.428 m2 - 158 m

Eigenaar van het perceel

Eigenaar opvragen

Kadastrale aanduiding

HTG00-M-1002 ('s-Hertogenbosch)

Postcode in perceel

    Geen postcode aanwezig

Type eigenaar

4gHqbMa BOeyT0q3pgpAFvdFiUpgrade naar KadastraleKaart Pro

Google Street View

Bekijk op Street View

Download

Download DWG/DXF/Excel

Gerelateerde percelen

AxwcdC3YJ5DxDK9c1 rhUpgrade naar KadastraleKaart Pro

Bebouwd/onbebouwd/water/groen

2vVaCRRwEiJUpgrade naar KadastraleKaart Pro
Administratieve eenheden
pM 3oZUPM3wNXUpgrade naar KadastraleKaart Pro

Appartementsrechten

14 Cpq o MldUpgrade naar KadastraleKaart Pro

Vergunningverlenende instanties

yzs xZ iUul7hUpgrade naar KadastraleKaart Pro

Bedekking (BGT)

7xs9vXK73rhFgUIgf8 WQUZUpgrade naar KadastraleKaart Pro

Publiekrechtelijke beperkingen

9TPB kJUpgrade naar KadastraleKaart Pro

Grensnauwkeurigheid

WJU9CFYxTiJUpgrade naar KadastraleKaart Pro

Coördinaten hoekpunten perceel

XRq7e93i r1t Wpbof5Upgrade naar KadastraleKaart Pro

Hoogteligging

n Nxbc YsGHI5CmQxUpgrade naar KadastraleKaart Pro

Laatst gewijzigd

02/12/2009

Kadastrale kaart met maatvoering 59,95
Kadastrale kaart pakket 28,95

Percelen

Gebruik de zoekbalk of klik op een perceel om informatie over het perceel te bekijken.
Locatie
Meten
Lagen
Download