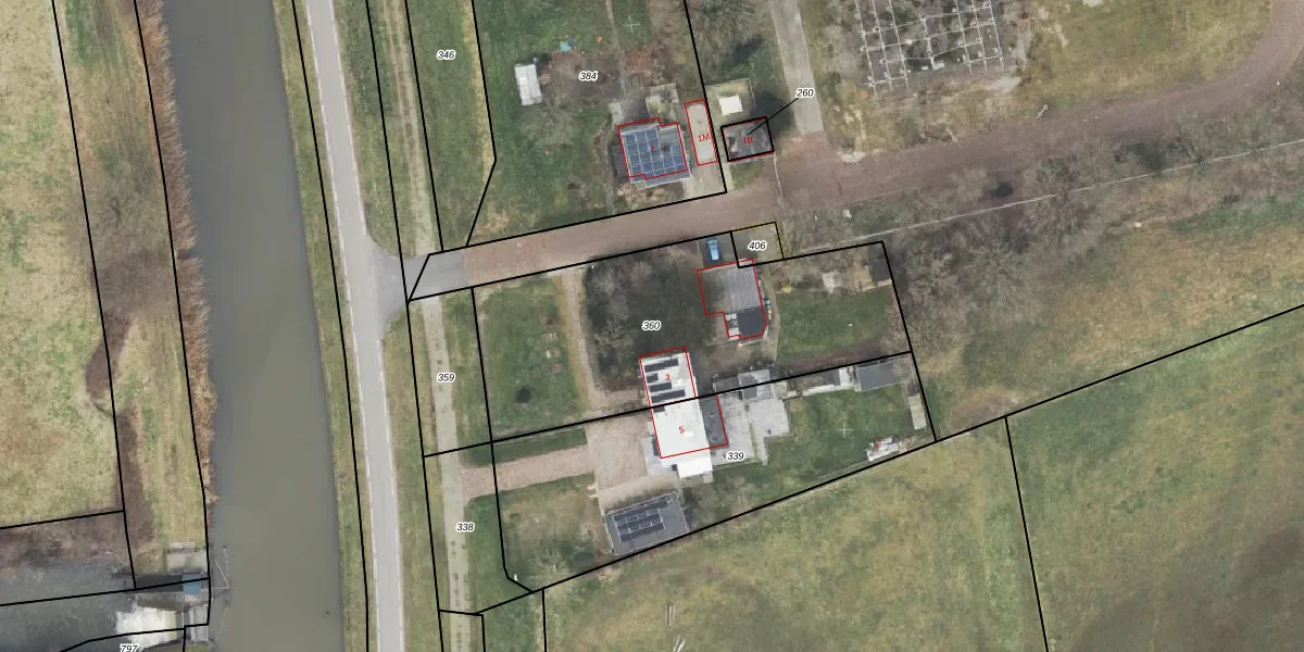
Perceel: HTM00-I-360
KadastraleKaart.com kan meer dan je denktOntdek meer ›
Filter op bestemming 50+ datasets Eigendomsdata in één klik Percelen CRM
1.414 m2 - 176 m
Eigenaar opvragen
HTM00-I-360 (Hattem)
- 8051 CA
ZC MPo 0FRwyq3kQ4gUpgrade naar KadastraleKaart Pro
Verkoopprijs opvragen
Bekijk op Street View
Download DWG/DXF/Excel
KxUVBc7 9vG8h hUpgrade naar KadastraleKaart Pro
AOEIL4gAruqXGZ7oUpgrade naar KadastraleKaart Pro
Xj8qXJE7 Upgrade naar KadastraleKaart Pro
lb 7QnWIVeUjUpgrade naar KadastraleKaart Pro
2BXBVNTeNUUUpgrade naar KadastraleKaart Pro
fTqDFKZLOVzBcUpgrade naar KadastraleKaart Pro
2NM7BwfEyT2yUpgrade naar KadastraleKaart Pro
kgmgZql4ZKjlgk2 Upgrade naar KadastraleKaart Pro
JnY Y 6hNs5 X d lUpgrade naar KadastraleKaart Pro
Rp ifWNf957HNhhweJQhBUpgrade naar KadastraleKaart Pro
08/12/2025

Percelen
Gebruik de zoekbalk of klik op een perceel om informatie over het perceel te bekijken.