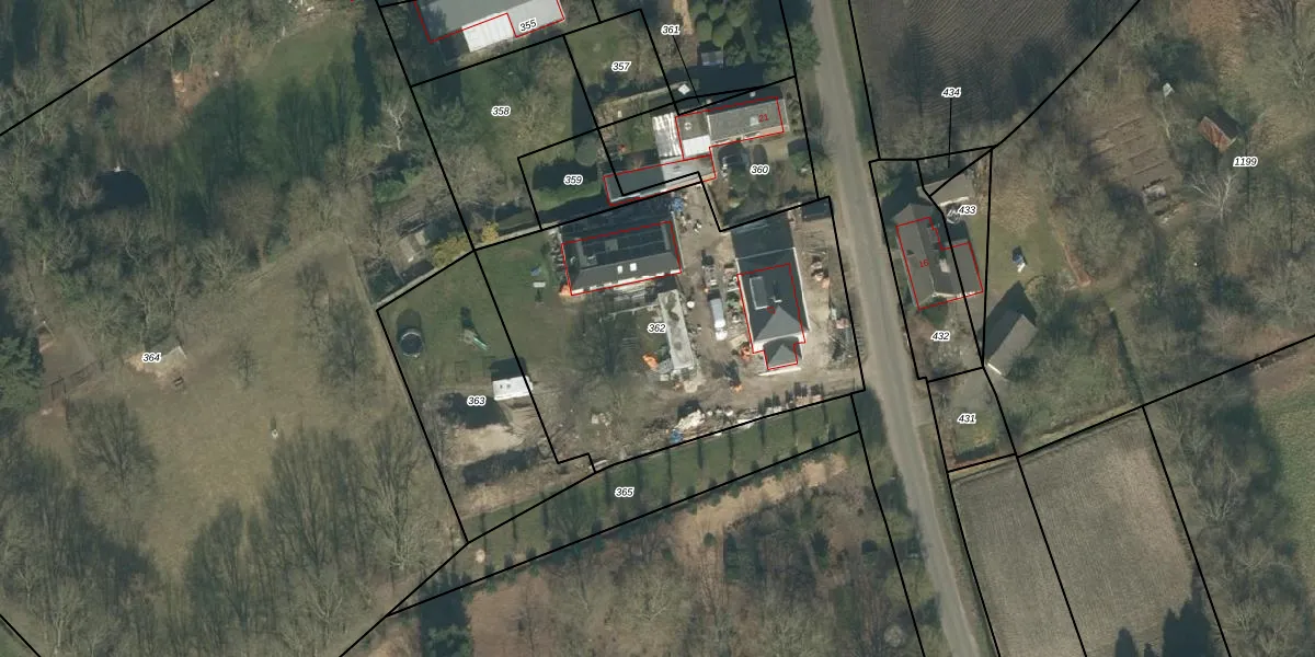
Perceel: HVN00-H-362
KadastraleKaart.com kan meer dan je denktOntdek meer ›
Filter op bestemming 50+ datasets Eigendomsdata in één klik Percelen CRM
1.800 m2 - 177 m
Eigenaar opvragen
HVN00-H-362 (Hoeven)
- 4741 RM
pOVSvxu 5NsLoLq2 nUpgrade naar KadastraleKaart Pro
Verkoopprijs opvragen
Bekijk op Street View
Download DWG/DXF/Excel
CBWUZRayHR4j3Upgrade naar KadastraleKaart Pro
wOY9oIsdwgHcsYtVUpgrade naar KadastraleKaart Pro
TjYBS JQB2kZTvr0hkUpgrade naar KadastraleKaart Pro
459 e0TYS AIsbmkToSUpgrade naar KadastraleKaart Pro
2zGbEhmBGUpgrade naar KadastraleKaart Pro
l DqcIV z Ob 0Wh kLUpgrade naar KadastraleKaart Pro
3rVkihBHMqjnlyUpgrade naar KadastraleKaart Pro
NO1U18kdJWHHUpgrade naar KadastraleKaart Pro
w9yUga Wv yr6UUpgrade naar KadastraleKaart Pro
qfmbLwX4gCP Upgrade naar KadastraleKaart Pro
02/09/2009

Percelen
Gebruik de zoekbalk of klik op een perceel om informatie over het perceel te bekijken.