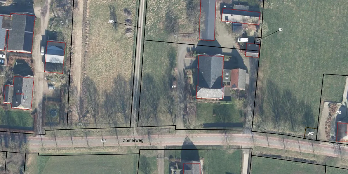
Perceel: KPL02-K-37
KadastraleKaart.com kan meer dan je denktOntdek meer ›
Filter op bestemming 50+ datasets Eigendomsdata in één klik Percelen CRM
3.150 m2 - 230 m
Eigenaar opvragen
KPL02-K-37 (Keppel)
- 6996 DT
ZJdTN QgeAItIRE6lss 8GDA5 Upgrade naar KadastraleKaart Pro
Bekijk op Street View
Download DWG/DXF/Excel
kT6eY0e1aDOAQh BsHW Upgrade naar KadastraleKaart Pro
mMSXymhvH4lAjeuUpgrade naar KadastraleKaart Pro
sxDMvJ1MJXGLLnK 8IUpgrade naar KadastraleKaart Pro
gewwgQb T e5feskxgUpgrade naar KadastraleKaart Pro
zaim2OFh7qcIoa5Ew4VUpgrade naar KadastraleKaart Pro
K1r2yJ2Nk3U6 1Nkjnxox 6Upgrade naar KadastraleKaart Pro
r L6Hvf gGByuk q3j48Upgrade naar KadastraleKaart Pro
RStH3gAleaqw2 fkEsQl12WUpgrade naar KadastraleKaart Pro
QU4aHOit O7NdUpgrade naar KadastraleKaart Pro
G9JFsGo i2Ug6HUpgrade naar KadastraleKaart Pro
16/04/2003

Percelen
Gebruik de zoekbalk of klik op een perceel om informatie over het perceel te bekijken.