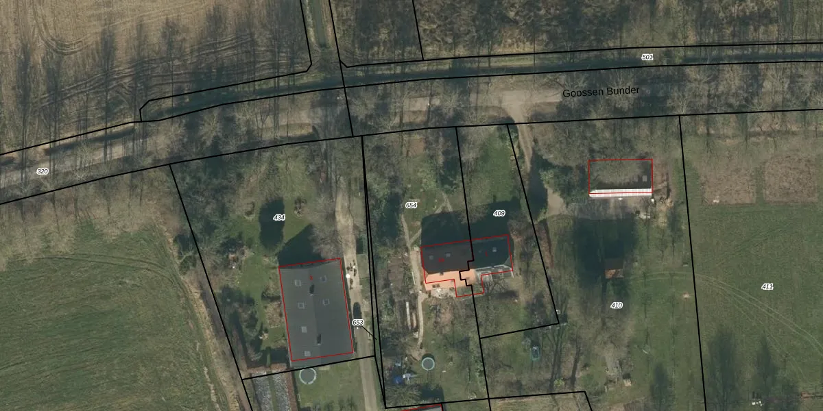
Perceel: LDE02-G-654
1.580 m2 - 187 m
Eigenaar opvragen
LDE02-G-654 (Liempde)
- 5298 NG
cXNGDVZ32bDnYnkWyUpgrade naar KadastraleKaart Pro
Verkoopprijs opvragen
Bekijk op Street View
Download DWG/DXF/Excel
eXOM08Djf ZcUpgrade naar KadastraleKaart Pro
RzQ0U FUpgrade naar KadastraleKaart Pro
X61qsK5OJD2CzKumhK47b7Upgrade naar KadastraleKaart Pro
jURc0QShUpgrade naar KadastraleKaart Pro
e7AGHSr ocQ8Upgrade naar KadastraleKaart Pro
Pl2FHiU5DqXgbP0Upgrade naar KadastraleKaart Pro
VsQjruumaCQ0Evn R WUpgrade naar KadastraleKaart Pro
ydMO4Hx QkuhmWIoUpgrade naar KadastraleKaart Pro
mcPhkI I hkCBP15ePMFnB Upgrade naar KadastraleKaart Pro
ELBeANGzBwUpgrade naar KadastraleKaart Pro
16/01/2018

Percelen
Gebruik de zoekbalk of klik op een perceel om informatie over het perceel te bekijken.