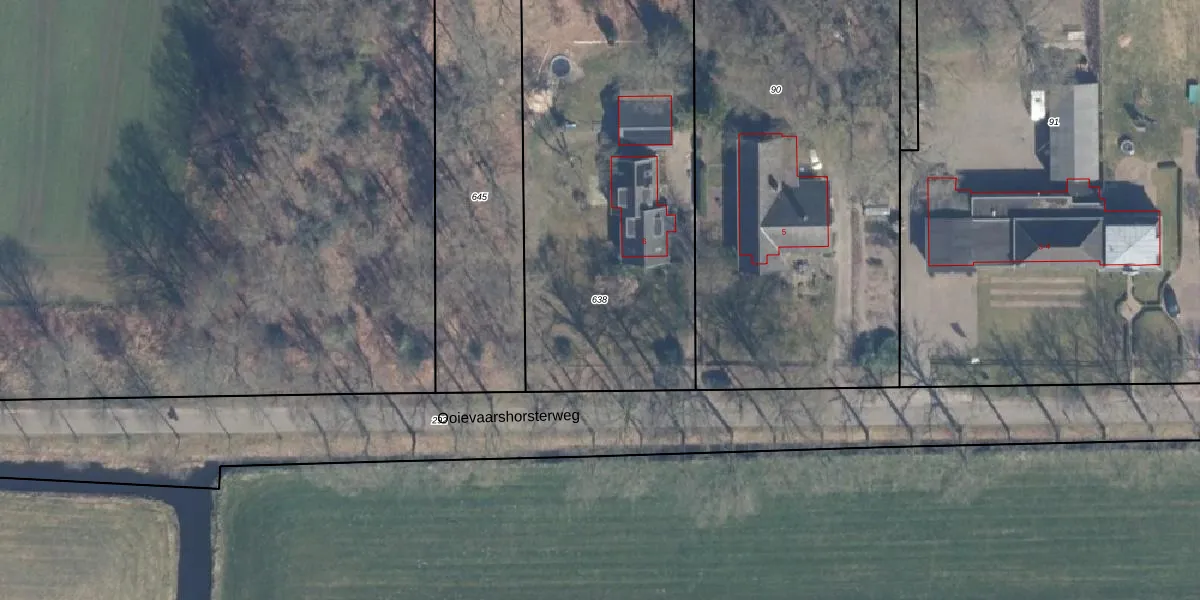
Perceel: LDN02-K-638

Adres bij perceel

Perceeloppervlakte & perceelomtrek

1.915 m2 - 191 m

Eigenaar van het perceel

Eigenaar opvragen

Kadastrale aanduiding

LDN02-K-638 (Leusden)

Postcode in perceel

    3832 GV

Type eigenaar

7SonGQ3yL3hRyqImukeTHjqetlsQUpgrade naar KadastraleKaart Pro

Google Street View

Bekijk op Street View

Download

Download DWG/DXF/Excel

Gerelateerde percelen

fmx EvP3BvUpgrade naar KadastraleKaart Pro

Bebouwd/onbebouwd/water/groen

2 caEEXPwLEiOUpgrade naar KadastraleKaart Pro
Administratieve eenheden
QMIKNX6OPbZYk2316Upgrade naar KadastraleKaart Pro

Appartementsrechten

ZC88JLRppEx6 ZJOUpgrade naar KadastraleKaart Pro

Vergunningverlenende instanties

izAB6QohsMixC4Upgrade naar KadastraleKaart Pro

Bedekking (BGT)

51bLh5PxsT9OXscUpgrade naar KadastraleKaart Pro

Publiekrechtelijke beperkingen

ksDN859IyKAKsYjUpgrade naar KadastraleKaart Pro

Grensnauwkeurigheid

UdzgOPElK v70KgcrYiUpgrade naar KadastraleKaart Pro

Coördinaten hoekpunten perceel

zBqmGXPX7cRKUpgrade naar KadastraleKaart Pro

Hoogteligging

iKslwWt1 XHTCwHiNuRTUpgrade naar KadastraleKaart Pro

Laatst gewijzigd

20/09/2021

Kadastrale kaart met maatvoering 59,95
Kadastrale kaart pakket 28,95

Percelen

Gebruik de zoekbalk of klik op een perceel om informatie over het perceel te bekijken.
Locatie
Meten
Lagen
Download