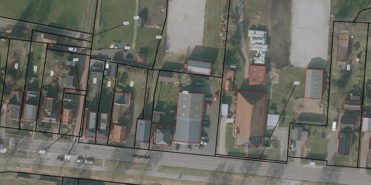
Perceel: LGZ00-G-505
1.525 m2 - 157 m
Eigenaar opvragen
LGZ00-G-505 (Langezwaag)
- 8404 GB
nRNDh2s nOQRDW IqvbQ EUpgrade naar KadastraleKaart Pro
Verkoopprijs opvragen
Bekijk op Street View
Download DWG/DXF/Excel
DYODCUPEUpgrade naar KadastraleKaart Pro
Vv M srThMFRhFp 4QibufrUpgrade naar KadastraleKaart Pro
EE2A0h sXogY54SOudONtrUpgrade naar KadastraleKaart Pro
mJ9qO c aRlDl 5sdXlUpgrade naar KadastraleKaart Pro
ejYDDJwoOh42N2Upgrade naar KadastraleKaart Pro
R4RxXiv Upgrade naar KadastraleKaart Pro
UdtS 8dQTEs4FdqEKjXMKhUpgrade naar KadastraleKaart Pro
V5j1FlM3NeUpgrade naar KadastraleKaart Pro
3 bM M3Yi wQ I Upgrade naar KadastraleKaart Pro
YPY8Ulh7luESvejmUpgrade naar KadastraleKaart Pro
15/01/1998

Percelen
Gebruik de zoekbalk of klik op een perceel om informatie over het perceel te bekijken.