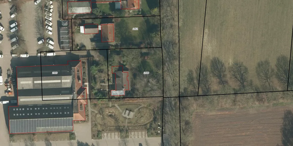
Perceel: LOO00-G-2448
1.220 m2 - 142 m
Eigenaar opvragen
LOO00-G-2448 (Loon op Zand)
- 5176 NN
ec B pjhHx4yitFeaUpgrade naar KadastraleKaart Pro
Bekijk op Street View
Download DWG/DXF/Excel
HhzJPZyU1bIDvkKi5XUpgrade naar KadastraleKaart Pro
jICs46dbTV38uelbEaUpgrade naar KadastraleKaart Pro
LblRFqWk0 kvJ pLpCV3BAQUpgrade naar KadastraleKaart Pro
qnvh2Is9 WzUUCUpgrade naar KadastraleKaart Pro
SEF0mHTGDqzp lOQgmUpgrade naar KadastraleKaart Pro
GfP O dkx5lUpgrade naar KadastraleKaart Pro
vpnV rT zBEw2Upgrade naar KadastraleKaart Pro
O0w3eVFBUpgrade naar KadastraleKaart Pro
2H3kC5RRUpgrade naar KadastraleKaart Pro
8OG6iZ Uu6qjw huUpgrade naar KadastraleKaart Pro
20/06/2007

Percelen
Gebruik de zoekbalk of klik op een perceel om informatie over het perceel te bekijken.