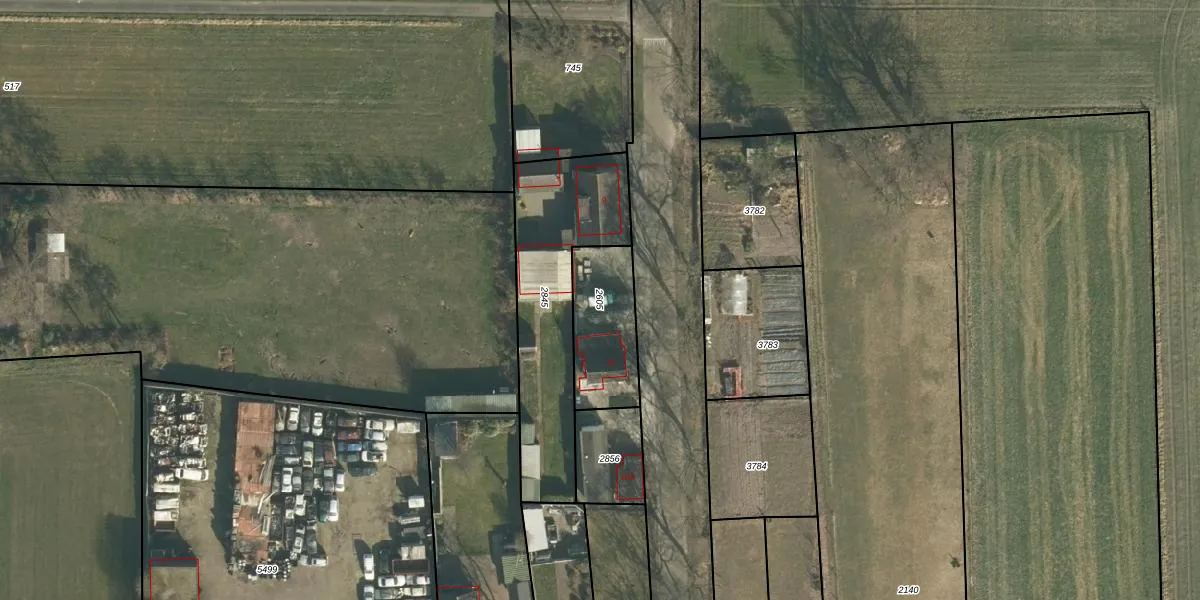
Perceel: LOO00-H-2605
KadastraleKaart.com kan meer dan je denktOntdek meer ›
Filter op bestemming 50+ datasets Eigendomsdata in één klik Percelen CRM
Geen adressen bij dit perceel
300 m2 - 75 m
Eigenaar opvragen
LOO00-H-2605 (Loon op Zand)
- Geen postcode aanwezig
Xo735fcphN nqegBaznbUICWOGUpgrade naar KadastraleKaart Pro
Bekijk op Street View
Download DWG/DXF/Excel
wtRwLWlVuf3Jdya nUpgrade naar KadastraleKaart Pro
e5 Np5BpUPduquRSbyinqUpgrade naar KadastraleKaart Pro
nYTlJJ8ECzck3vKFmYNyUpgrade naar KadastraleKaart Pro
ehq BYxdR 8W7j8 RSUpgrade naar KadastraleKaart Pro
1Wciis4wgF7q k8oILqAaaBUpgrade naar KadastraleKaart Pro
uY 0msjc3af9dujkkMFknEUpgrade naar KadastraleKaart Pro
IH6qpMRjfP9Upgrade naar KadastraleKaart Pro
YV9ea1L8eQ8MXIUpgrade naar KadastraleKaart Pro
tuKNX89qrNT Mctk 7VgUpgrade naar KadastraleKaart Pro
h38FrsWyCKtSTQUpgrade naar KadastraleKaart Pro
12/07/2007

Percelen
Gebruik de zoekbalk of klik op een perceel om informatie over het perceel te bekijken.