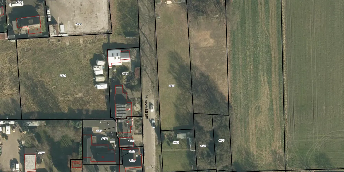
Perceel: LOO00-H-3897
KadastraleKaart.com kan meer dan je denktOntdek meer ›
Filter op bestemming 50+ datasets Eigendomsdata in één klik Percelen CRM
Geen adressen bij dit perceel
1.520 m2 - 196 m
Eigenaar opvragen
LOO00-H-3897 (Loon op Zand)
- Geen postcode aanwezig
2T tN6xU Ey8JcMQaLxB3 Upgrade naar KadastraleKaart Pro
Bekijk op Street View
Download DWG/DXF/Excel
GUOHpK MpUpgrade naar KadastraleKaart Pro
q1OwgAmEUpgrade naar KadastraleKaart Pro
1WxBffr k3HUpgrade naar KadastraleKaart Pro
3zCuhaMQeiIUpgrade naar KadastraleKaart Pro
6F2 7 JZNwcZg2FEUpgrade naar KadastraleKaart Pro
V2rfUgTOEaWizEUpgrade naar KadastraleKaart Pro
QJ516 2WjpvGUpgrade naar KadastraleKaart Pro
0UifWuvUpgrade naar KadastraleKaart Pro
Kd5Q8zjL hw6Upgrade naar KadastraleKaart Pro
7HwLsUL9bVmgYT4JUpgrade naar KadastraleKaart Pro
12/07/2007

Percelen
Gebruik de zoekbalk of klik op een perceel om informatie over het perceel te bekijken.