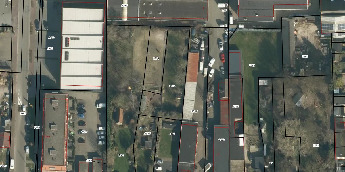
Perceel: LOO00-L-3411
Geen adressen bij dit perceel
865 m2 - 158 m
Eigenaar opvragen
LOO00-L-3411 (Loon op Zand)
- Geen postcode aanwezig
c F9DoOWBPpWX UggM GUpgrade naar KadastraleKaart Pro
Bekijk op Street View
Download DWG/DXF/Excel
9 2ONlyjJWq 6YUpgrade naar KadastraleKaart Pro
Jh8LQh9wOa YYe KEkpPUpUpgrade naar KadastraleKaart Pro
539qDo5 wqM maAUpgrade naar KadastraleKaart Pro
wXfXrKHMxUpgrade naar KadastraleKaart Pro
5sKU xz BcqSLMkJ8ZTArmUpgrade naar KadastraleKaart Pro
7mjqP5u1 Muj zfJj4QanUpgrade naar KadastraleKaart Pro
FP8W eCUpgrade naar KadastraleKaart Pro
eTyCcGy nj3BhQPUpgrade naar KadastraleKaart Pro
2t I9aXjAc2eRUpgrade naar KadastraleKaart Pro
rt 436OmXbdrXoeBqtUpgrade naar KadastraleKaart Pro
25/08/2011

Percelen
Gebruik de zoekbalk of klik op een perceel om informatie over het perceel te bekijken.