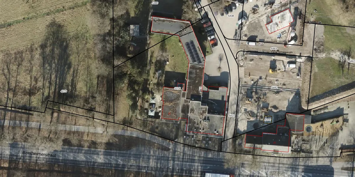
Perceel: LSR00-D-5376
KadastraleKaart.com kan meer dan je denktOntdek meer ›
Filter op bestemming 50+ datasets Eigendomsdata in één klik Percelen CRM
3.572 m2 - 246 m
Eigenaar opvragen
LSR00-D-5376 (Losser)
- 7587 ND
5dpaQuPpHOQbmrG21N Po Upgrade naar KadastraleKaart Pro
Bekijk op Street View
Download DWG/DXF/Excel
gniD7BNzr95p5Upgrade naar KadastraleKaart Pro
31moiT rcN yfUpgrade naar KadastraleKaart Pro
l6zsKlcb357 k B9qADc7Upgrade naar KadastraleKaart Pro
c94xAxAUpgrade naar KadastraleKaart Pro
nudGMPzVPPR2DUpgrade naar KadastraleKaart Pro
Plg dZbCkqhUpgrade naar KadastraleKaart Pro
HB8 gocnUpgrade naar KadastraleKaart Pro
7 eUPSj5Tsh2h8NPUpgrade naar KadastraleKaart Pro
AuLNeTvyZUpgrade naar KadastraleKaart Pro
LPxgW10PFGJvpTEBUpgrade naar KadastraleKaart Pro
23/09/2021

Percelen
Gebruik de zoekbalk of klik op een perceel om informatie over het perceel te bekijken.