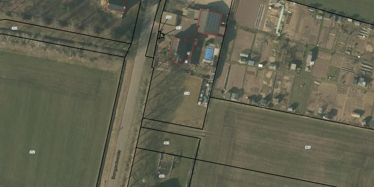
Perceel: MBE00-M-518
KadastraleKaart.com kan meer dan je denktOntdek meer ›
Filter op bestemming 50+ datasets Eigendomsdata in één klik Percelen CRM
2.721 m2 - 235 m
Eigenaar opvragen
MBE00-M-518 (Maasbree)
- 5991 NN
d Q5pwBZtsHJDNXFwMfxR03kJbqIzUpgrade naar KadastraleKaart Pro
Bekijk op Street View
Download DWG/DXF/Excel
kFFPEZwNEaGUpgrade naar KadastraleKaart Pro
fpmeEGR6Upgrade naar KadastraleKaart Pro
wF cW uIhPi2o7hVjUpgrade naar KadastraleKaart Pro
TPOpkpnE3xLAQ 0OtJ7rQKnUpgrade naar KadastraleKaart Pro
R7nM eOD5CrwuFh0ZUpgrade naar KadastraleKaart Pro
DE2KPMfpRCW1XBUIrcsc Upgrade naar KadastraleKaart Pro
GfE3hegkOrCaVBUpgrade naar KadastraleKaart Pro
dqPbup1 eL3Upgrade naar KadastraleKaart Pro
p036fB Z93MOqUpgrade naar KadastraleKaart Pro
bX ug AlL45l1jn3nWRUpgrade naar KadastraleKaart Pro
11/03/2008

Percelen
Gebruik de zoekbalk of klik op een perceel om informatie over het perceel te bekijken.