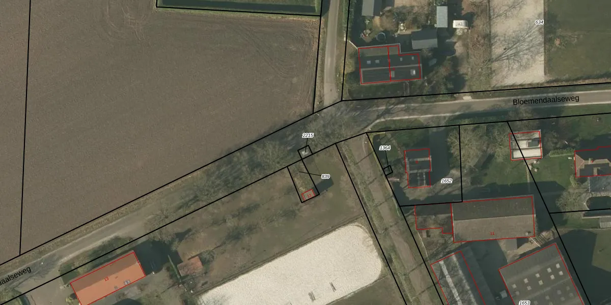
Perceel: MEL00-D-2215
KadastraleKaart.com kan meer dan je denktOntdek meer ›
Filter op bestemming 50+ datasets Eigendomsdata in één klik Percelen CRM
Geen adressen bij dit perceel
12 m2 - 14 m
Eigenaar opvragen
MEL00-D-2215 (Meijel)
- Geen postcode aanwezig
cZCIuwGwKT1eYrDhpFvm3wI3WUpgrade naar KadastraleKaart Pro
Bekijk op Street View
Download DWG/DXF/Excel
4IaGoONuZUpgrade naar KadastraleKaart Pro
MKZr30 715yD2Dq Upgrade naar KadastraleKaart Pro
QjQ4Lnp6ePNoh8QKqDUpgrade naar KadastraleKaart Pro
Q6tJ GnvLDUpgrade naar KadastraleKaart Pro
nJ hR CNE8WUpgrade naar KadastraleKaart Pro
Ng3RgfBBoT2ttCUpgrade naar KadastraleKaart Pro
lTljuV9TolnkakPUpgrade naar KadastraleKaart Pro
SOhk6gXRCdUpgrade naar KadastraleKaart Pro
z NrQB3ZyPznZtrRa Upgrade naar KadastraleKaart Pro
29DRzkPi8UFbMUpgrade naar KadastraleKaart Pro
18/09/2020

Percelen
Gebruik de zoekbalk of klik op een perceel om informatie over het perceel te bekijken.