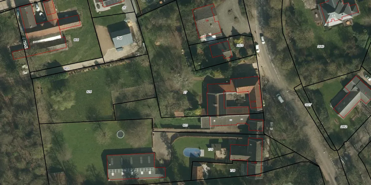
Perceel: MGT02-T-27
KadastraleKaart.com kan meer dan je denktOntdek meer ›
Filter op bestemming 50+ datasets Eigendomsdata in één klik Percelen CRM
2.313 m2 - 240 m
Eigenaar opvragen
MGT02-T-27 (Margraten)
- 6261 NV
xEgLZza1 T8m 4ZvzAeFX7DaLCQxUpgrade naar KadastraleKaart Pro
Verkoopprijs opvragen
Bekijk op Street View
Download DWG/DXF/Excel
qjkkq8UiN o d Upgrade naar KadastraleKaart Pro
J4axktebXn pKi 65Upgrade naar KadastraleKaart Pro
krVVtSbeUpgrade naar KadastraleKaart Pro
nHcWdDJCYvhp8UUpgrade naar KadastraleKaart Pro
Pff6IC SQuhRi0Upgrade naar KadastraleKaart Pro
lOD ueq Li5DJwu BUpgrade naar KadastraleKaart Pro
bgD8lBxyBwMx3wyAvzXxUpgrade naar KadastraleKaart Pro
wW FuULyGyyKUpgrade naar KadastraleKaart Pro
40NHp95iq KUpgrade naar KadastraleKaart Pro
u7iJiwV gKytOc9O 8QUpgrade naar KadastraleKaart Pro
03/12/2025

Percelen
Gebruik de zoekbalk of klik op een perceel om informatie over het perceel te bekijken.