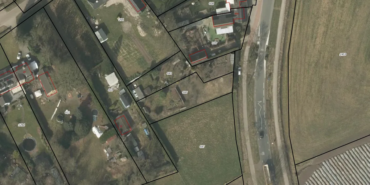
Perceel: MHZ00-G-595
KadastraleKaart.com kan meer dan je denktOntdek meer ›
Filter op bestemming 50+ datasets Eigendomsdata in één klik Percelen CRM
Geen adressen bij dit perceel
730 m2 - 134 m
Eigenaar opvragen
MHZ00-G-595 (Maarheeze)
- Geen postcode aanwezig
U0z 9o Tv LuQgEQ 1g14A QeqUpgrade naar KadastraleKaart Pro
Bekijk op Street View
Download DWG/DXF/Excel
SMUnoV7sGIPfWUpgrade naar KadastraleKaart Pro
ke5lF6C5zZe63o MA 1Upgrade naar KadastraleKaart Pro
Z3 e38qL4YUpgrade naar KadastraleKaart Pro
oxI O0d WLTM1q4q34Upgrade naar KadastraleKaart Pro
pVqee 4s3l 3 878OLb wUpgrade naar KadastraleKaart Pro
bkY j3rQshQ6vYBfUpgrade naar KadastraleKaart Pro
7JHTPa UI8d 9GyQUpgrade naar KadastraleKaart Pro
Rt45CGa89cjPq Upgrade naar KadastraleKaart Pro
g8g JyRrUpgrade naar KadastraleKaart Pro
BFEeh4WTgSUpgrade naar KadastraleKaart Pro
15/03/2005

Percelen
Gebruik de zoekbalk of klik op een perceel om informatie over het perceel te bekijken.