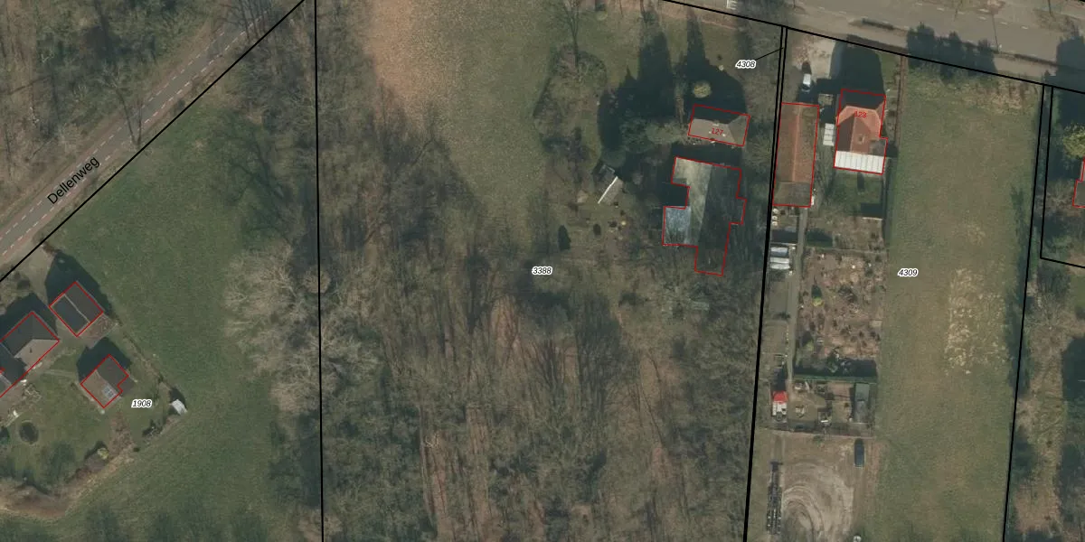
Perceel: MIL00-F-3388
KadastraleKaart.com kan meer dan je denktOntdek meer ›
Filter op bestemming 50+ datasets Eigendomsdata in één klik Percelen CRM
9.180 m2 - 382 m
Eigenaar opvragen
MIL00-F-3388 (Mill)
- 5451 JH
fEAE3 Zs64HBl44NUpgrade naar KadastraleKaart Pro
Bekijk op Street View
Download DWG/DXF/Excel
qyQRHnkZpTJUpgrade naar KadastraleKaart Pro
G KGOaxIjic62N3EDPHrXUpgrade naar KadastraleKaart Pro
AaM1 5CD123eUpgrade naar KadastraleKaart Pro
9V9pBa9vs9ABL5RWuF2Upgrade naar KadastraleKaart Pro
V5f6NB N8Upgrade naar KadastraleKaart Pro
YL DfNud1iT1WxBtw4BUpgrade naar KadastraleKaart Pro
KtmKLt9N8m2uFNVOyzTeYUpgrade naar KadastraleKaart Pro
HUh7heqhIsrSBnUvDnUpgrade naar KadastraleKaart Pro
TzubLXQdA lKI uqHMikaUpgrade naar KadastraleKaart Pro
Valyz 74PHQAQUpgrade naar KadastraleKaart Pro
02/03/2007

Percelen
Gebruik de zoekbalk of klik op een perceel om informatie over het perceel te bekijken.