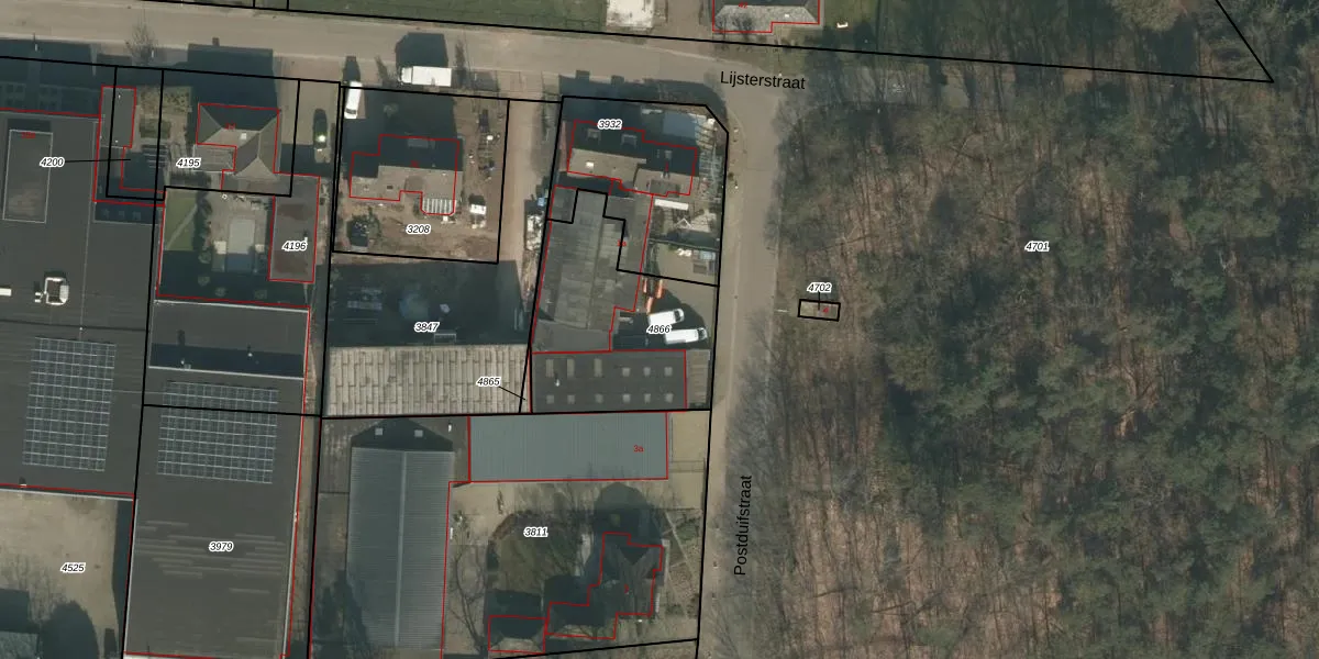
Perceel: MIL00-F-4866
KadastraleKaart.com kan meer dan je denktOntdek meer ›
Filter op bestemming 50+ datasets Eigendomsdata in één klik Percelen CRM
Geen adressen bij dit perceel
694 m2 - 119 m
Eigenaar opvragen
MIL00-F-4866 (Mill)
- Geen postcode aanwezig
j g8M 7htyYl1 xiun 1Mom42wWUpgrade naar KadastraleKaart Pro
Bekijk op Street View
Download DWG/DXF/Excel
jzCPlXADoSCqWmXEo0qUpgrade naar KadastraleKaart Pro
Eu9q5vwIUpgrade naar KadastraleKaart Pro
yi2exK0z MUpgrade naar KadastraleKaart Pro
M 6AA7AQGxk3yJhiUpgrade naar KadastraleKaart Pro
miGqnSloY 5k8nLUpgrade naar KadastraleKaart Pro
Z4pjiMyEHoBtmMNYpLCzUpgrade naar KadastraleKaart Pro
G N Nhyx7pCUpgrade naar KadastraleKaart Pro
VvyMmP LNbUpgrade naar KadastraleKaart Pro
SI6DrlJ5DmMaNsNo 8FszUpgrade naar KadastraleKaart Pro
8jG94 oIUpgrade naar KadastraleKaart Pro
21/10/2025

Percelen
Gebruik de zoekbalk of klik op een perceel om informatie over het perceel te bekijken.