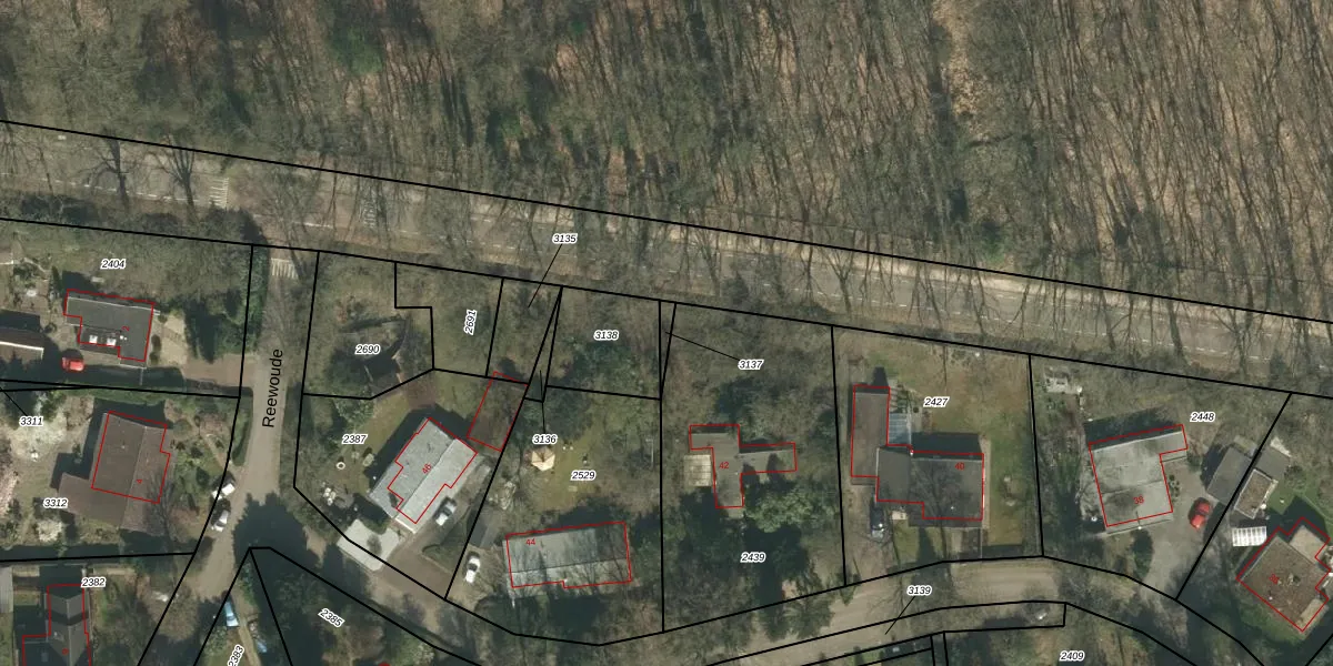
Perceel: MLK00-B-3137
Geen adressen bij dit perceel
18 m2 - 32 m
Eigenaar opvragen
MLK00-B-3137 (Melick en Herkenbosch)
- Geen postcode aanwezig
RmQQyT WlFs rdH3Wv3g8t9kLEUpgrade naar KadastraleKaart Pro
Bekijk op Street View
Download DWG/DXF/Excel
eATeIhtReKF8MNNDOQtUpgrade naar KadastraleKaart Pro
v5COXV6 VwQD8giSUpgrade naar KadastraleKaart Pro
N9zltSGvzwGUpgrade naar KadastraleKaart Pro
BYpNCD0nmYLEmHxUpgrade naar KadastraleKaart Pro
ovtFOXJsFrUpgrade naar KadastraleKaart Pro
Jl765RH jfs EQaEVOfUpgrade naar KadastraleKaart Pro
TGN1 TKqsFkUDUpgrade naar KadastraleKaart Pro
xKx4MU1AgoXv1Upgrade naar KadastraleKaart Pro
gUK L 22w0hUpgrade naar KadastraleKaart Pro
6eG9Y50K7E1EGIFV4Upgrade naar KadastraleKaart Pro
17/08/2006

Percelen
Gebruik de zoekbalk of klik op een perceel om informatie over het perceel te bekijken.