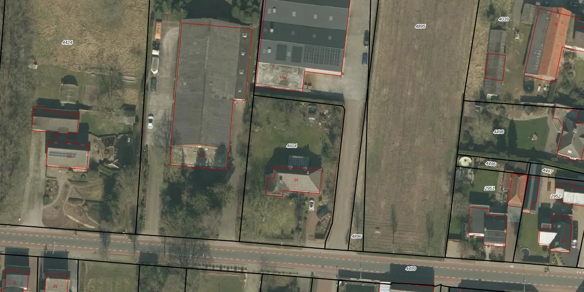
Perceel: MLO02-B-4604
KadastraleKaart.com kan meer dan je denktOntdek meer ›
Filter op bestemming 50+ datasets Eigendomsdata in één klik Percelen CRM
1.510 m2 - 160 m
Eigenaar opvragen
MLO02-B-4604 (Meerlo)
- 5866 AB
DehKn8M0W FW1KP WLsr4PUpgrade naar KadastraleKaart Pro
Verkoopprijs opvragen
Bekijk op Street View
Download DWG/DXF/Excel
DvJ zPkFwl TUpgrade naar KadastraleKaart Pro
gMmmJxNO7GUpgrade naar KadastraleKaart Pro
UbnJCvL eCtdb5Ejte9Upgrade naar KadastraleKaart Pro
CnedbCwQBLoAymbLcmg5M5Upgrade naar KadastraleKaart Pro
MJ7VcaLoWXIf7BBWQrhFssKUpgrade naar KadastraleKaart Pro
hz83p gqUpgrade naar KadastraleKaart Pro
tult23RqUpgrade naar KadastraleKaart Pro
ZpOKo8xZZpVVATHW3CIhUpgrade naar KadastraleKaart Pro
dyvsiOUZUpgrade naar KadastraleKaart Pro
SW x jgxHFGIdY9U0AhkNXEUpgrade naar KadastraleKaart Pro
30/09/2008

Percelen
Gebruik de zoekbalk of klik op een perceel om informatie over het perceel te bekijken.