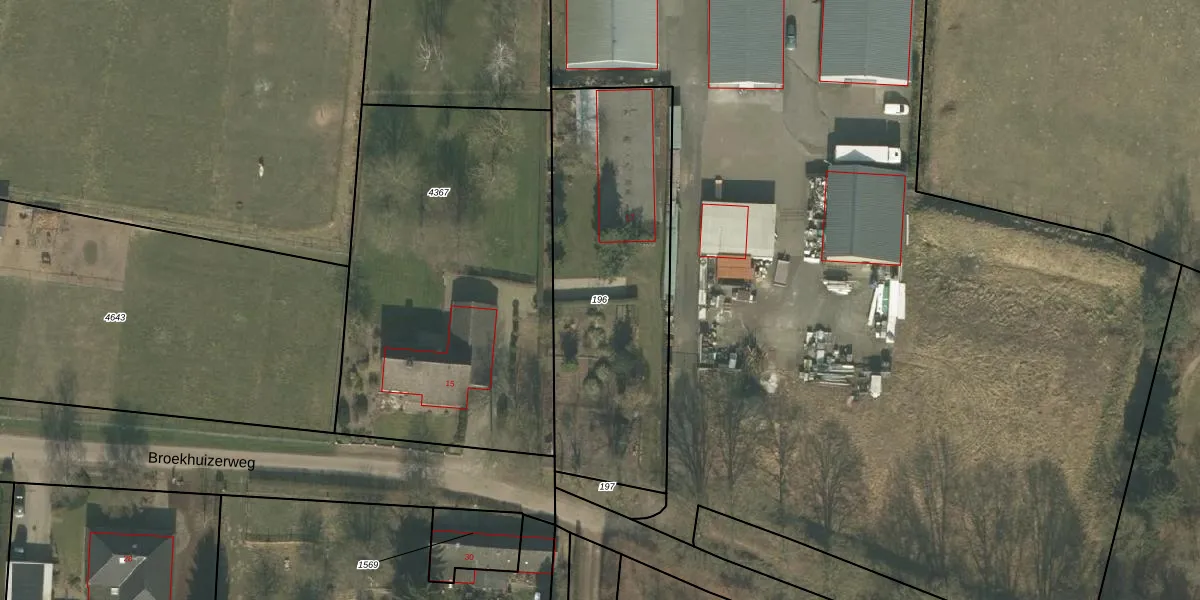
Perceel: MLO02-K-196
KadastraleKaart.com kan meer dan je denktOntdek meer ›
Filter op bestemming 50+ datasets Eigendomsdata in één klik Percelen CRM
1.278 m2 - 171 m
Eigenaar opvragen
MLO02-K-196 (Meerlo)
- 5866 BA
LRdXM554 LX3iIytWSEUpgrade naar KadastraleKaart Pro
Bekijk op Street View
Download DWG/DXF/Excel
to7ux5L9tzsv0LZHYRtuZSYUpgrade naar KadastraleKaart Pro
oN fRpeBveP5h89zPF9Upgrade naar KadastraleKaart Pro
b6 ZE4HtUz 0QiT0da3RUpgrade naar KadastraleKaart Pro
MWf YAXK 6 Cxv7L4FnVSN7Upgrade naar KadastraleKaart Pro
AshWUCocj LZ2nhQDMUpgrade naar KadastraleKaart Pro
MahwiHYp4vO1Upgrade naar KadastraleKaart Pro
R8qR8mxEUBaoxE4Upgrade naar KadastraleKaart Pro
3eJkAWxCn4WZzGUpgrade naar KadastraleKaart Pro
Pqlhqk9n K7atxk sdw8rUpgrade naar KadastraleKaart Pro
3lt2gtwMM5iLw7Bm5CFnjrqUpgrade naar KadastraleKaart Pro
30/06/2011

Percelen
Gebruik de zoekbalk of klik op een perceel om informatie over het perceel te bekijken.