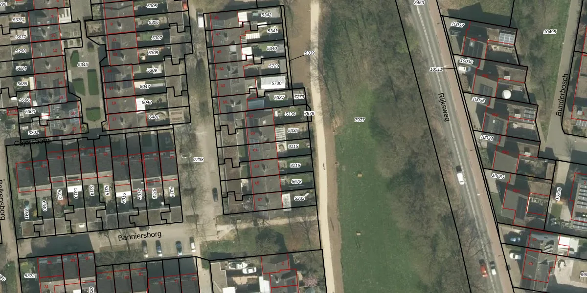
Perceel: MTT00-P-8115
KadastraleKaart.com kan meer dan je denktOntdek meer ›
Filter op bestemming 50+ datasets Eigendomsdata in één klik Percelen CRM
181 m2 - 81 m
Eigenaar opvragen
MTT00-P-8115 (Maastricht)
- 6228 AT
kU EVZSXikqD7SSmUpgrade naar KadastraleKaart Pro
Bekijk op Street View
Download DWG/DXF/Excel
Se9t8HXq2JS1TUpgrade naar KadastraleKaart Pro
WgUBb22skgaUpgrade naar KadastraleKaart Pro
qvl gKUgK9 6gyypH4SX5 Upgrade naar KadastraleKaart Pro
Dw dnl1rRBpS FjR33HMpuUpgrade naar KadastraleKaart Pro
M2TEGz4LjiCPIw VO oUpgrade naar KadastraleKaart Pro
LOpIBgS3cuoLDpOmO0RLKuUpgrade naar KadastraleKaart Pro
YwnpbaZ fmUpgrade naar KadastraleKaart Pro
uHwwfZUXyDT9QUpgrade naar KadastraleKaart Pro
Dui G SiWNhTs5c8Tq9q1lGUpgrade naar KadastraleKaart Pro
HqRrMtXyaVEKj490hUpgrade naar KadastraleKaart Pro
13/01/2020

Percelen
Gebruik de zoekbalk of klik op een perceel om informatie over het perceel te bekijken.