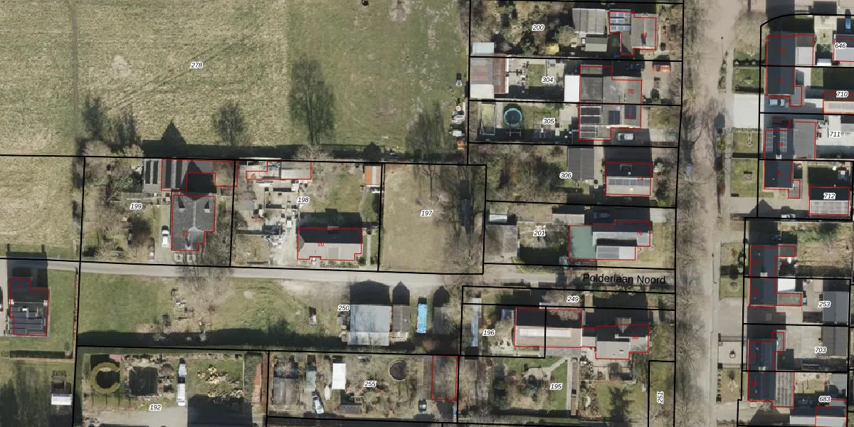
Perceel: NBK01-H-197
KadastraleKaart.com kan meer dan je denktOntdek meer ›
Filter op bestemming 50+ datasets Eigendomsdata in één klik Percelen CRM
Geen adressen bij dit perceel
620 m2 - 100 m
Eigenaar opvragen
NBK01-H-197 (Noordbroek)
- Geen postcode aanwezig
sQkWarO1MeJHqkcEl7dxtPsJS9Upgrade naar KadastraleKaart Pro
Bekijk op Street View
Download DWG/DXF/Excel
0YUxj ZcEVVUpgrade naar KadastraleKaart Pro
RD5 Ox5WxM9Upgrade naar KadastraleKaart Pro
HqYEtU pzUpgrade naar KadastraleKaart Pro
gWKlnw8OYCSD0 fyoKiUpgrade naar KadastraleKaart Pro
SFrkJ5yUPpHPUpgrade naar KadastraleKaart Pro
hNPn8JlCw3TyTDoLMCCUpgrade naar KadastraleKaart Pro
xEDA p0DN8XEbjeUpgrade naar KadastraleKaart Pro
HYRWWmnAw9Upgrade naar KadastraleKaart Pro
YjpTjQ w378B1T a6iU7RFUpgrade naar KadastraleKaart Pro
Hpat72rJy1lnXZTbvPBUpgrade naar KadastraleKaart Pro
01/02/1999

Percelen
Gebruik de zoekbalk of klik op een perceel om informatie over het perceel te bekijken.