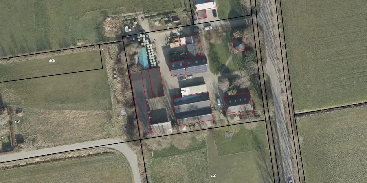
Perceel: NBK02-A-708
3.970 m2 - 256 m
Eigenaar opvragen
NBK02-A-708 (Nijbroek)
- 7397 NE
NRLKucG V5J2ykX9KnQ0T4tYCNF9rjUpgrade naar KadastraleKaart Pro
Bekijk op Street View
Download DWG/DXF/Excel
PpB0HlHnbVFJ6Upgrade naar KadastraleKaart Pro
J8sbuIVVVV8q1Upgrade naar KadastraleKaart Pro
JytoiKCG45d m8Upgrade naar KadastraleKaart Pro
rD59gU Gtx7AmH8iHcFqUpgrade naar KadastraleKaart Pro
4jC gkffOLawlxUpgrade naar KadastraleKaart Pro
E7DK NjgWZ9xEShuUpgrade naar KadastraleKaart Pro
m78uKjkaUpgrade naar KadastraleKaart Pro
RKDR2IAiMuRW6euZIpPVUpgrade naar KadastraleKaart Pro
iCExk2SHm6h rPJDWAqrWEUpgrade naar KadastraleKaart Pro
urnuNh1n4DW Dl3gWt78OUpgrade naar KadastraleKaart Pro
01/03/2022

Percelen
Gebruik de zoekbalk of klik op een perceel om informatie over het perceel te bekijken.