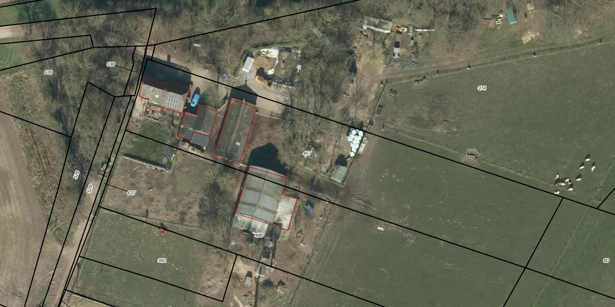
Perceel: NDH02-C-457
KadastraleKaart.com kan meer dan je denktOntdek meer ›
Filter op bestemming 50+ datasets Eigendomsdata in één klik Percelen CRM
3.430 m2 - 331 m
Eigenaar opvragen
NDH02-C-457 (Nederhemert)
- 5317 KW
H8 lNeWXwgCzvnNKB8CCmBUpgrade naar KadastraleKaart Pro
Bekijk op Street View
Download DWG/DXF/Excel
d5d5nS7yEDLef aeIjEUUpgrade naar KadastraleKaart Pro
7O8avA DZ Upgrade naar KadastraleKaart Pro
NsDBv86qwUpgrade naar KadastraleKaart Pro
qaIIhAHrwaBV qej1OUpgrade naar KadastraleKaart Pro
1I ALYgwTdypVxTZOuGUpgrade naar KadastraleKaart Pro
MvIUVxe2zUpgrade naar KadastraleKaart Pro
579CWP3rrvnLVwUpgrade naar KadastraleKaart Pro
Kt9OwGoOYjUpgrade naar KadastraleKaart Pro
1EETW B3RpkhPTo G qAEujUpgrade naar KadastraleKaart Pro
ZHFO1g7UTwh4 IUpgrade naar KadastraleKaart Pro
22/02/2012

Percelen
Gebruik de zoekbalk of klik op een perceel om informatie over het perceel te bekijken.