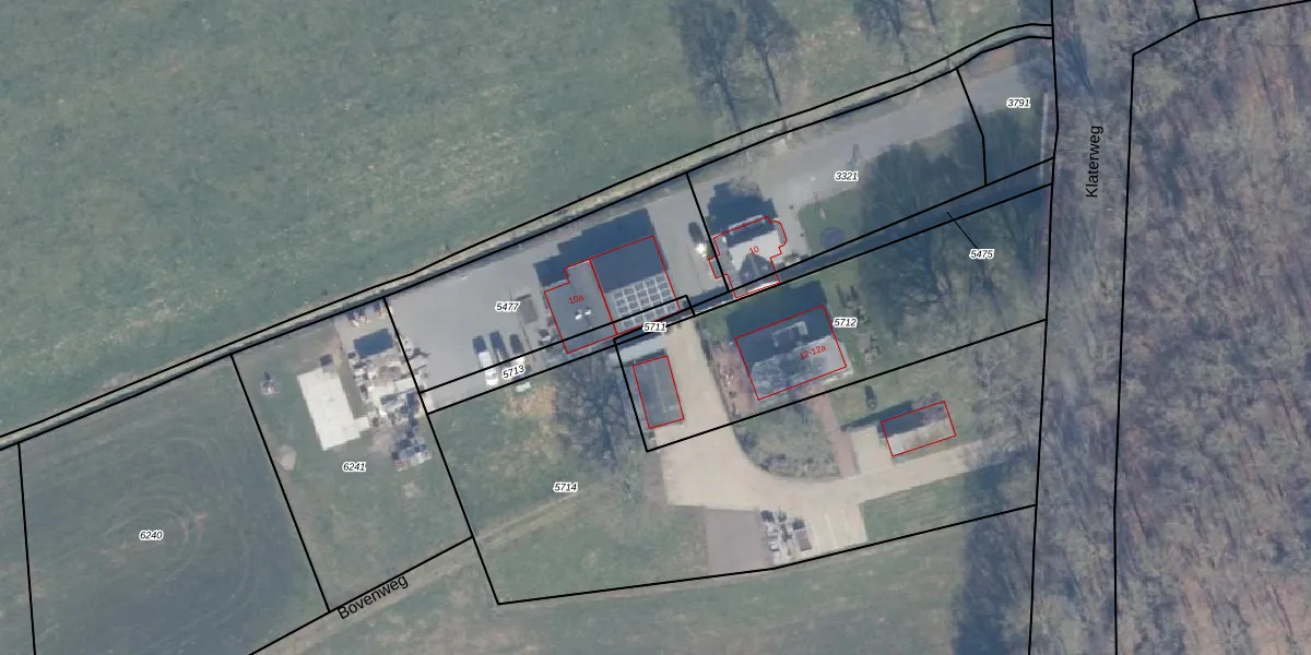
Perceel: NST01-A-5711
Geen adressen bij dit perceel
15 m2 - 28 m
Eigenaar opvragen
NST01-A-5711 (Nunspeet)
- Geen postcode aanwezig
9PgEpwh3aGo1EaE7 EmB fSUpgrade naar KadastraleKaart Pro
Bekijk op Street View
Download DWG/DXF/Excel
to33hNtfpvBRxfwL3FkWvUGUpgrade naar KadastraleKaart Pro
xtBBuLpFonW8oOcLeHUpgrade naar KadastraleKaart Pro
YXz L5pmtSgDv Br6Upgrade naar KadastraleKaart Pro
T ZB Z WnGU9Tl 9MKRUpgrade naar KadastraleKaart Pro
5ItUlSbo6wXGxvZIUpgrade naar KadastraleKaart Pro
4KKzi5 Pd6oUpgrade naar KadastraleKaart Pro
DxD7W6Eth2Upgrade naar KadastraleKaart Pro
OIoIis s UstDWe8Upgrade naar KadastraleKaart Pro
OD4n uKZ3eUpgrade naar KadastraleKaart Pro
Dp0McfuQMUpgrade naar KadastraleKaart Pro
23/12/2015

Percelen
Gebruik de zoekbalk of klik op een perceel om informatie over het perceel te bekijken.