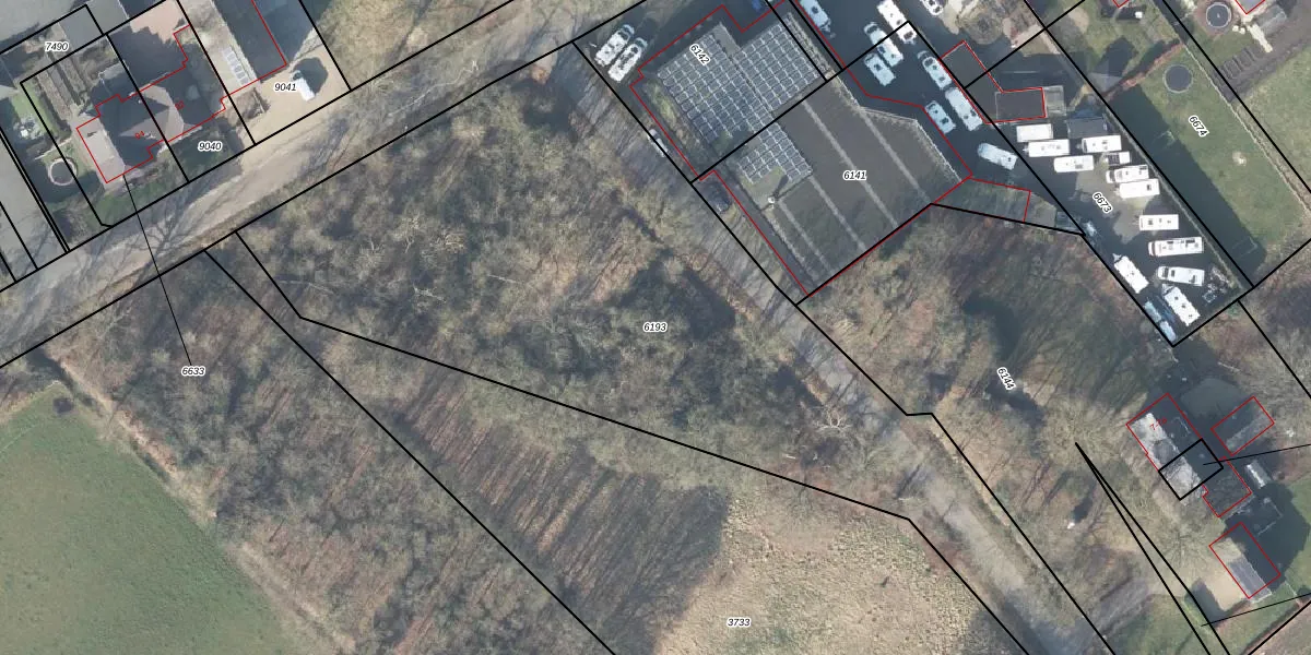
Perceel: NST01-F-6193
Geen adressen bij dit perceel
4.255 m2 - 593 m
Eigenaar opvragen
NST01-F-6193 (Nunspeet)
- Geen postcode aanwezig
PzbgdSbCSO vpu QqcyviPNiphf HUpgrade naar KadastraleKaart Pro
Bekijk op Street View
Download DWG/DXF/Excel
g5ptE YEUpgrade naar KadastraleKaart Pro
yFQ 1SaCBKZ89 Upgrade naar KadastraleKaart Pro
3Wmz4caAk7f0 KCJWUpgrade naar KadastraleKaart Pro
EwC ZJjPSiowLKOBFgkkUpgrade naar KadastraleKaart Pro
o79og rKBRrtvJFUpgrade naar KadastraleKaart Pro
yRtCOhtq8Ll 0ovaUpgrade naar KadastraleKaart Pro
vEQyH9btkom44MUpgrade naar KadastraleKaart Pro
xfAlgTXn2VL DfzD Upgrade naar KadastraleKaart Pro
JkmN9Yi Upgrade naar KadastraleKaart Pro
CJeo vhlUpgrade naar KadastraleKaart Pro
23/08/2018

Percelen
Gebruik de zoekbalk of klik op een perceel om informatie over het perceel te bekijken.