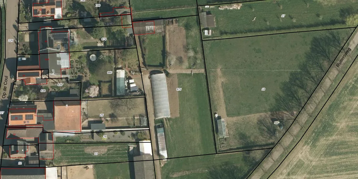
Perceel: OBT00-C-875
Geen adressen bij dit perceel
2.840 m2 - 229 m
Eigenaar opvragen
OBT00-C-875 (Obbicht en Papenhoven)
- Geen postcode aanwezig
t2IlJp 6a5pHWSrLSLXgEgiWhIZmwTeUpgrade naar KadastraleKaart Pro
Bekijk op Street View
Download DWG/DXF/Excel
evnw3G duHwbCGDUpgrade naar KadastraleKaart Pro
8dd9 PkZwWIQS ftUpgrade naar KadastraleKaart Pro
7G6 DdjyUpgrade naar KadastraleKaart Pro
6KOAyyPdDJUpgrade naar KadastraleKaart Pro
GUpKTlk855 5iyXQ8Au Upgrade naar KadastraleKaart Pro
kTzyf6BU Upgrade naar KadastraleKaart Pro
7Piji4 1HwY XomYAUpgrade naar KadastraleKaart Pro
yO8U1ZGYZb88sgJXxUpgrade naar KadastraleKaart Pro
J8 nZoWiYO3JfaCP3nRxUpgrade naar KadastraleKaart Pro
sWXYWJFm Upgrade naar KadastraleKaart Pro
16/07/2009

Percelen
Gebruik de zoekbalk of klik op een perceel om informatie over het perceel te bekijken.