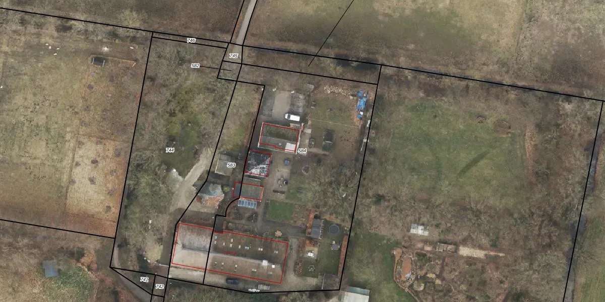
Perceel: ODB01-AE-584
KadastraleKaart.com kan meer dan je denktOntdek meer ›
Filter op bestemming 50+ datasets Eigendomsdata in één klik Percelen CRM
2.985 m2 - 249 m
Eigenaar opvragen
ODB01-AE-584 (Oldebroek)
- 8097 PL
9wpXJ3SbsQ2xjJTsZFRwc3b2YRUpgrade naar KadastraleKaart Pro
Verkoopprijs opvragen
Bekijk op Street View
Download DWG/DXF/Excel
hx0iC3 98Upgrade naar KadastraleKaart Pro
ktyJX2d jm 9QUpgrade naar KadastraleKaart Pro
CnJ2ksJAcOGJz47A3Upgrade naar KadastraleKaart Pro
ouu7eNXC6tQfOnDIky vUpgrade naar KadastraleKaart Pro
q2cXbwwNWZUpgrade naar KadastraleKaart Pro
kOMd6f8WQ9ULHAwFtzxAUpgrade naar KadastraleKaart Pro
d4 cbT rtJTcMlyRvVnFRgUpgrade naar KadastraleKaart Pro
k0AZEiQszUpgrade naar KadastraleKaart Pro
pY9 d9sB9fUpgrade naar KadastraleKaart Pro
WXjICGFoOWpUpgrade naar KadastraleKaart Pro
20/12/2011

Percelen
Gebruik de zoekbalk of klik op een perceel om informatie over het perceel te bekijken.