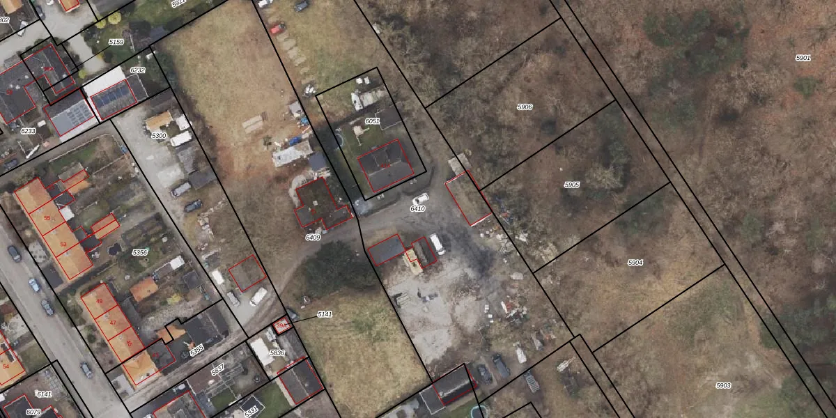
Perceel: ODB01-L-6410
Geen adressen bij dit perceel
2.700 m2 - 371 m
Eigenaar opvragen
ODB01-L-6410 (Oldebroek)
- Geen postcode aanwezig
gao9CHf3vbsFYkaXxIimeWSJYrUpgrade naar KadastraleKaart Pro
Bekijk op Street View
Download DWG/DXF/Excel
v T R6wwumvC o kr3Upgrade naar KadastraleKaart Pro
YfsjOt s 1uu6Pg8baUpgrade naar KadastraleKaart Pro
DuJhEwtqZXTe1GlvGlvUpgrade naar KadastraleKaart Pro
j5RRyjJmsUY2X Upgrade naar KadastraleKaart Pro
Z3FbVIsh7 wUpgrade naar KadastraleKaart Pro
6T is3EDRUpgrade naar KadastraleKaart Pro
J0V7yZYjHLUpgrade naar KadastraleKaart Pro
VohoKoIviIUpgrade naar KadastraleKaart Pro
v8jbkqI6BubSmUpgrade naar KadastraleKaart Pro
NeRxtBgiKjGLdqI S BR9tWUpgrade naar KadastraleKaart Pro
28/06/2024

Percelen
Gebruik de zoekbalk of klik op een perceel om informatie over het perceel te bekijken.