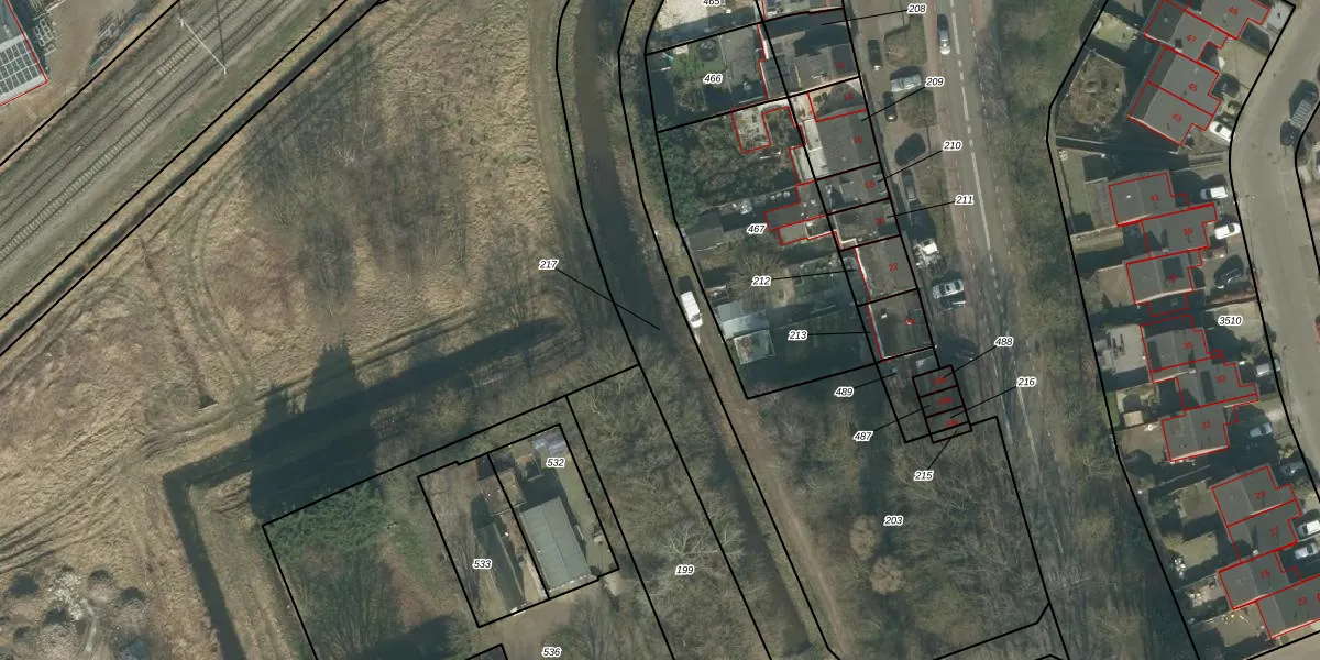
Perceel: ODB02-F-217
KadastraleKaart.com kan meer dan je denktOntdek meer ›
Filter op bestemming 50+ datasets Eigendomsdata in één klik Percelen CRM
Geen adressen bij dit perceel
1.340 m2 - 304 m
Eigenaar opvragen
ODB02-F-217 (Oudenbosch)
- Geen postcode aanwezig
uKNsPXQU5w0rZhXXQ5g8QxFDnFUpgrade naar KadastraleKaart Pro
Bekijk op Street View
Download DWG/DXF/Excel
CYFC3B zXZ JBc1Upgrade naar KadastraleKaart Pro
4MeA Q3Gk0uRKMUpgrade naar KadastraleKaart Pro
xk2Zj NydILybiUpgrade naar KadastraleKaart Pro
Qp5M6CftkOUUpgrade naar KadastraleKaart Pro
B 9SNflY4NrVuqUpgrade naar KadastraleKaart Pro
3DizHr5NVbPLtesUpgrade naar KadastraleKaart Pro
nZ11BwgRWBluRUpgrade naar KadastraleKaart Pro
4d7Q EwTHyPUpgrade naar KadastraleKaart Pro
RD6WitYjcO I Ha7CuUpgrade naar KadastraleKaart Pro
ZgSogvcAd56HhJf 2WUpgrade naar KadastraleKaart Pro
09/01/2023

Percelen
Gebruik de zoekbalk of klik op een perceel om informatie over het perceel te bekijken.